授权公布号:CN111095664B
用于对通过金属-空气电池组的电能进行管理的方法和相关联的电池
有效
申请
2018-07-10
申请公布
2020-05-01
授权
2024-01-23
预估到期
2038-07-10
| 申请号 | CN201880058476.7 |
| 申请日 | 2018-07-10 |
| 申请公布号 | CN111095664A |
| 申请公布日 | 2020-05-01 |
| 授权公布号 | CN111095664B |
| 授权公告日 | 2024-01-23 |
| 分类号 | H01M10/44;H01M10/48;H01M12/08;H01M10/04 |
| 分类 | 基本电气元件; |
| 申请人名称 | 法国电力公司 |
| 申请人地址 | 法国巴黎 |
专利法律状态
2024-01-23
授权
状态信息
授权
2020-05-29
实质审查的生效
状态信息
实质审查的生效;IPC(主分类):H01M10/44;申请日:20180710
2020-05-01
公布
状态信息
公布
摘要
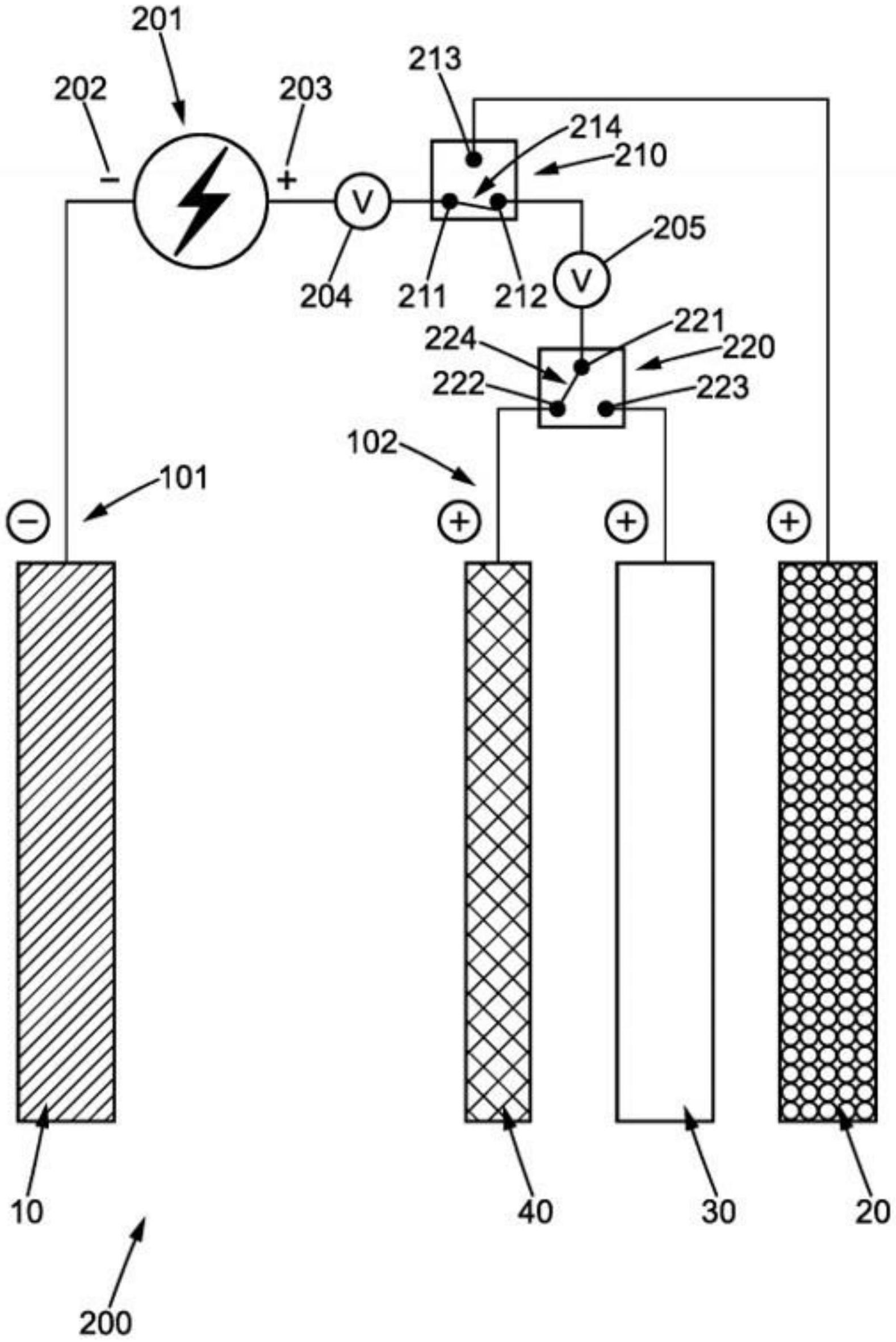
本发明涉及一种用于对通过包含电池(100)的金属‑空气电池组(200)的电能进行管理的方法,并且涉及相关联的电池,所述电池包含负电极(10)、被称为空气电极的第一正电极(20)和被称为电力电极(power electrode)的第二正电极(30)。电池进一步包含第三正电极(40)。在第一充电阶段(521)中,向电池施加充电电压,这一电压引起电流在负电极与第二正电极之间行进,第一和第三正电极电学上非活动。在第二充电阶段(520)中,充电电压引起电流在负电极与所述第三正电极之间行进,第一和第二正电极电学上非活动。


