授权公布号:CN109237514B
一种用于燃气轮机的双管路气体燃料燃烧器
有效
申请
2018-08-08
申请公布
2019-01-18
授权
2024-02-23
预估到期
2038-08-08
| 申请号 | CN201810898886.4 |
| 申请日 | 2018-08-08 |
| 申请公布号 | CN109237514A |
| 申请公布日 | 2019-01-18 |
| 授权公布号 | CN109237514B |
| 授权公告日 | 2024-02-23 |
| 分类号 | F23R3/14;F23R3/36 |
| 分类 | 燃烧设备;燃烧方法; |
| 申请人名称 | 中国华能集团有限公司 |
| 申请人地址 | 北京市海淀区复兴路甲23号 |
专利法律状态
2024-02-23
授权
状态信息
授权
2019-02-19
实质审查的生效
状态信息
实质审查的生效;IPC(主分类):F23R3/14;申请日:20180808
2019-01-18
公布
状态信息
公布
摘要
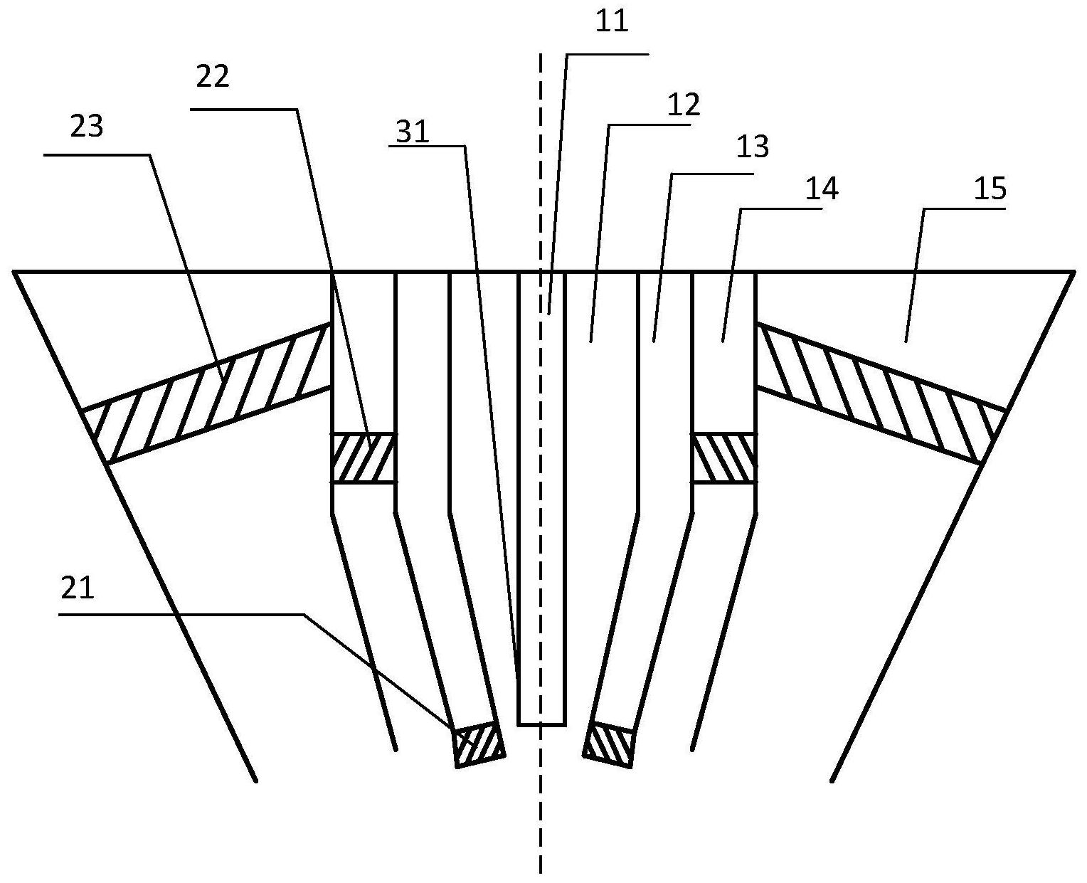
一种用于燃气轮机的双管路气体燃料燃烧器,由外向内依次为外侧空气管路、主路气体燃料管路、内侧空气管路、副路气体燃料管路和中心燃油管路,呈同心布置,各个管路的出口都为燃烧室。内侧空气管路出口安装有导流片式旋流器,副路气体燃料管路内没有旋流器。内侧空气管路出口在副路气体燃料管路出口下方,形成的旋流空气能够与副路燃料气体管路喷射出的燃料混合;副路气体燃料管路出口逐渐缩窄,与中心燃油管路之间形成的锥形结构,该设计能够精确调节副路气体燃料管路燃料进入量,与现有结构相比,在投入副路燃料时,可大幅降低副路气体燃料管路内的气流速度,防止机组哼鸣增大,维持机组稳定运行,进一步发挥机组性能。


