授权公布号:CN110657450B
一种燃气轮机的燃烧室及其工作方法
有效
申请
2019-10-31
申请公布
2020-01-07
授权
2023-09-15
预估到期
2039-10-31
| 申请号 | CN201911055408.8 |
| 申请日 | 2019-10-31 |
| 申请公布号 | CN110657450A |
| 申请公布日 | 2020-01-07 |
| 授权公布号 | CN110657450B |
| 授权公告日 | 2023-09-15 |
| 分类号 | F23R3/26 |
| 分类 | 燃烧设备;燃烧方法; |
| 申请人名称 | 中国华能集团有限公司 |
| 申请人地址 | 北京市西城区复兴门内大街6号 |
专利法律状态
2023-09-15
授权
状态信息
授权
2020-02-04
实质审查的生效
状态信息
实质审查的生效;IPC(主分类):F23R3/26;申请日:20191031
2020-01-07
公布
状态信息
公布
摘要
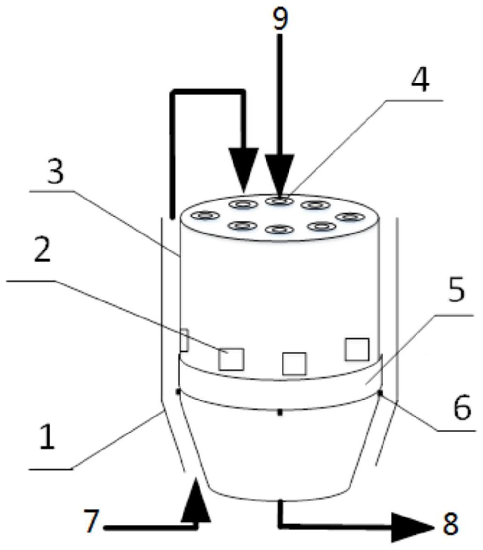
本发明公开了一种燃气轮机的燃烧室及其工作方法,包括燃烧室外壁和燃烧室内壁,所述燃烧室外壁和所述燃烧室内壁之间设有空隙形成燃烧室空气通道;所述燃烧室内壁顶部设有燃烧器,所述燃烧室内壁的侧壁设有第二风口,所述燃烧室内壁上还设置有用于控制第二风口开度的风口挡板。本发明可以在总风量保持不变的情况下,利用移动风口挡板,改变第二风口的面积,相应的增大或者减少二次风量,从而适应环境温度变化对空气密度的影响。即在冬季环境温度低,空气密度大时,增加二次风量;而在夏季环境高,空气密度小时,减少二次风量,从而提高了燃气轮机燃烧稳定性。


