授权公布号:CN217265450U
飞灰熔融玻璃化预处理系统
有效
申请
2022-01-20
申请公布
1970-01-01
授权
2022-08-23
预估到期
2032-01-20
| 申请号 | CN202220155824.6 |
| 申请日 | 2022-01-20 |
| 授权公布号 | CN217265450U |
| 授权公告日 | 2022-08-23 |
| 分类号 | C03C1/02;C03C6/02;C03C6/04 |
| 分类 | 玻璃;矿棉或渣棉; |
| 申请人名称 | 启迪环境科技发展股份有限公司 |
| 申请人地址 | 湖北省宜昌市沿江大道114号 |
专利法律状态
2022-08-23
授权
状态信息
授权
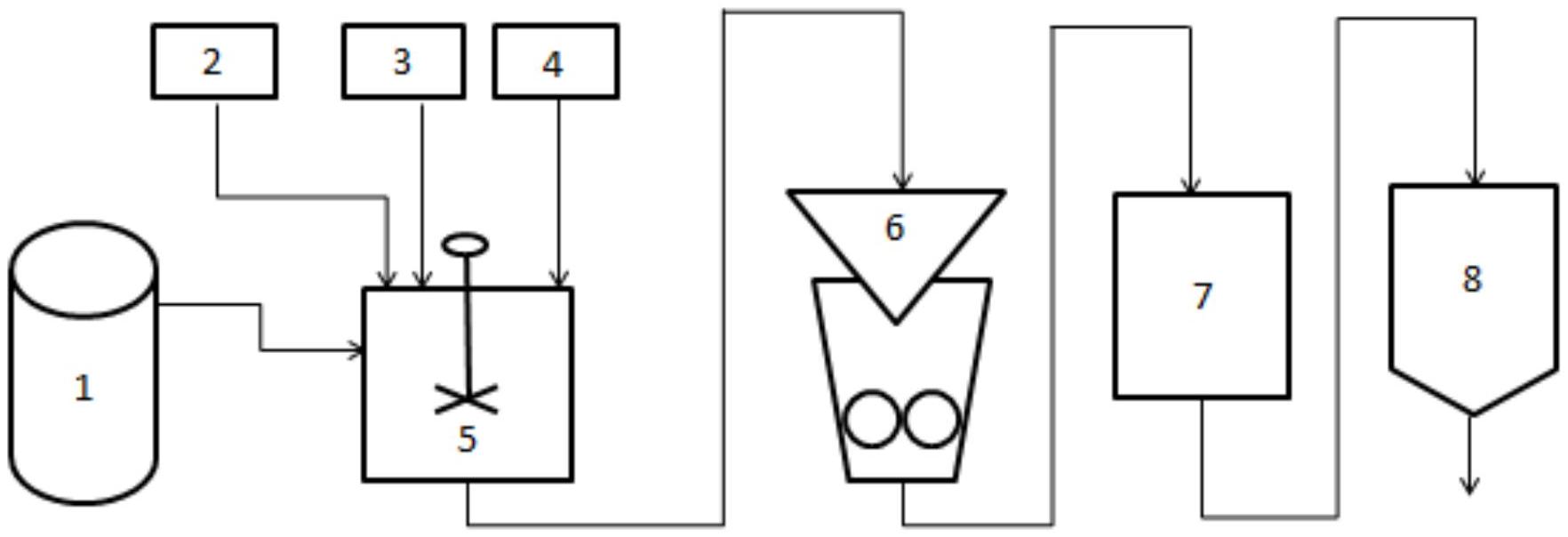
摘要
本实用新型公开了一种飞灰熔融玻璃化预处理系统,系统包括:混料单元分设飞灰入口、渗滤液浓缩液入口、粘结剂入口、复配剂入口和混合物料出口,该混料单元内设搅拌器;渗滤液浓缩液储存单元设有渗滤液浓缩液出口,与混料单元的渗滤液浓缩液入口相连;飞灰储存单元的飞灰出口与混料单元的飞灰入口相连;复配剂储存单元的复配剂出口与混料单元的复配剂入口相连;粘结剂储存单元的粘结剂出口与混料单元的粘结剂入口相连;成型单元分设混合物料入口和成型物料出口,混合物料入口与混料单元的混合物料出口相连;烘干单元分设成型物料入口和干燥成型物料出口,成型物料入口与成型单元的成型物料出口相连。该系统能制得满足要求的飞灰成型产品。


