授权公布号:CN217262291U
一种垃圾储坑的发酵堆体用曝气系统及垃圾储坑
有效
申请
2022-02-18
申请公布
1970-01-01
授权
2022-08-23
预估到期
2032-02-18
| 申请号 | CN202220342886.8 |
| 申请日 | 2022-02-18 |
| 授权公布号 | CN217262291U |
| 授权公告日 | 2022-08-23 |
| 分类号 | B65F1/14 |
| 分类 | 输送;包装;贮存;搬运薄的或细丝状材料; |
| 申请人名称 | 启迪环境科技发展股份有限公司 |
| 申请人地址 | 湖北省宜昌市沿江大道114号 |
专利法律状态
2022-08-23
授权
状态信息
授权
摘要
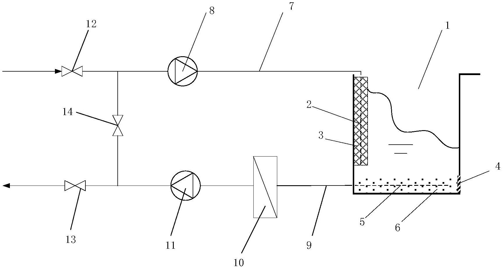
本实用新型公开了一种垃圾储坑的发酵堆体用曝气系统及垃圾储坑,包括:正压鼓风曝气机构、负压抽气曝气机构和连通组件;其中,正压鼓风曝气机构的风机入口管道通过连通组件与负压抽气曝气机构的风机出口管道连通;负压抽气曝气机构包括:透气垫层、负压曝气管组件、负压气体输送管道、气液分离器、抽气风机、风机出口管道和负压曝气排气阀,其中,透气垫层用于铺设在垃圾储坑的底部;负压曝气管组件铺设在透气垫层内,该负压曝气管组件经负压气体输送管道依次与垃圾储坑外部的分离器和抽气风机连接,抽气风机连接的风机出口管道设置负压曝气排气阀。该曝气系统能提升大型垃圾储坑内的发酵堆体的好氧发酵效果。


