授权公布号:CN212668249U
一种用于垃圾处理的进料装置
有效
申请
2020-04-14
申请公布
1970-01-01
授权
2021-03-09
预估到期
2030-04-14
| 申请号 | CN202020544745.5 |
| 申请日 | 2020-04-14 |
| 授权公布号 | CN212668249U |
| 授权公告日 | 2021-03-09 |
| 分类号 | B65G11/20;B65G47/18;B65G11/02;B65D88/64 |
| 分类 | 输送;包装;贮存;搬运薄的或细丝状材料; |
| 申请人名称 | 启迪环境科技发展股份有限公司 |
| 申请人地址 | 湖北省宜昌市沿江大道114号 |
专利法律状态
2021-03-09
授权
状态信息
授权
摘要
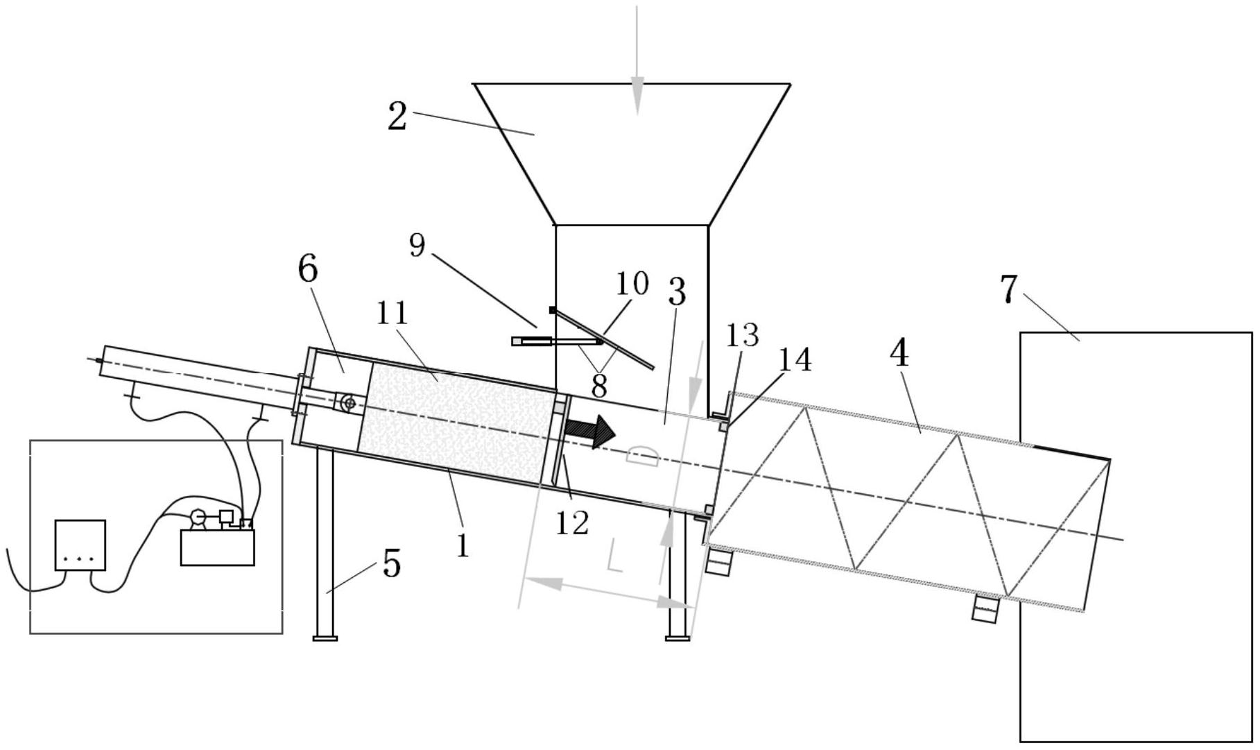
本实用新型公开了一种用于垃圾处理的进料装置,包括:破堵推料机构、溜槽、滚筒进料机构、支撑底座、套筒、垃圾进料斗和破桥机构;其中,破堵推料机构、套筒、溜槽和滚筒进料机构依次连接,连接后的破堵推料机构、套筒、溜槽和滚筒进料机构倾斜设置在支撑底座上;滚筒进料机构的后端出料口能连接垃圾热解气化炉;垃圾进料斗设置在溜槽上面,与溜槽内连通;垃圾进料斗内设置破桥机构。通过在垃圾进料斗内设置破桥机构,采用破堵推料机构配合溜槽和滚筒进料机构,能实现顺畅进料,减少或壁面垃圾物料卡料和堵料。该进料装置结构不复杂,进料顺畅且密封效果好。


