授权公布号:CN106540543B
一种多程式选择性催化还原脱硝装置
有效
申请
2017-01-17
申请公布
2017-03-29
授权
2022-12-02
预估到期
2037-01-17
| 申请号 | CN201710036186.X |
| 申请日 | 2017-01-17 |
| 申请公布号 | CN106540543A |
| 申请公布日 | 2017-03-29 |
| 授权公布号 | CN106540543B |
| 授权公告日 | 2022-12-02 |
| 分类号 | B01D53/90;B01D53/56;B01D53/88 |
| 分类 | 一般的物理或化学的方法或装置; |
| 申请人名称 | 启迪环境科技发展股份有限公司 |
| 申请人地址 | 湖北省宜昌市沿江大道114号 |
专利法律状态
2022-12-02
授权
状态信息
授权
2017-03-29
公布
状态信息
公布
摘要
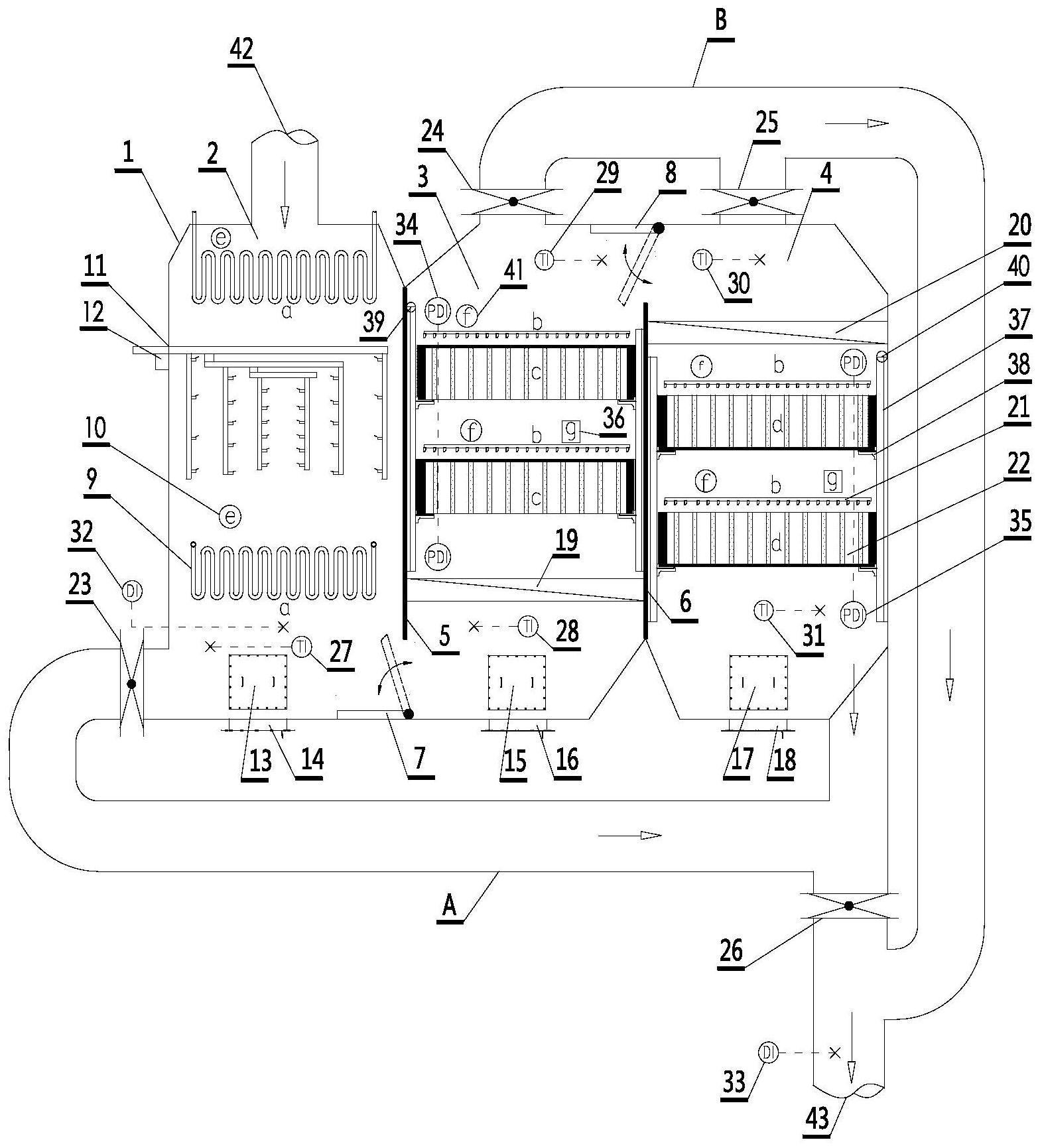
本发明公开了一种多程式选择性催化还原脱硝装置,其外部为组装式壳体,壳体内根据烟气走向分为第一、第二、第三程烟道;第一程烟道顶部接烟气进管,顶部和下部分别设有烟气加热器,中部设喷氨管网;中下部设温度传感器和氧气‑氮氧化物‑氨气浓度集成传感器;第二、第三程烟道内布置催化剂块,催化剂块下方设烟气整流板,每组催化剂块上方设清灰器,烟道内顶部设温度传感器、侧壁设压差传感器,各程烟道均设人孔检修门和清灰孔;烟道之间用隔板和电动翻转门分隔;第一程烟道下部、第二程烟道和第三程烟道上部分别连接安装电动阀的旁通管,烟气出管上设氧气‑氮氧化物‑氨气浓度集成传感器。该装置反应效率高、催化剂使用寿命长及检修维护容易。


