授权公布号:CN209725321U
阀门系统和具有该阀门系统的核反应堆
有效
申请
2019-01-29
申请公布
1970-01-01
授权
2019-12-03
预估到期
2029-01-29
| 申请号 | CN201920158086.9 |
| 申请日 | 2019-01-29 |
| 授权公布号 | CN209725321U |
| 授权公告日 | 2019-12-03 |
| 分类号 | F16K15/03;F16K1/32;F16K31/44 |
| 分类 | 工程元件或部件;为产生和保持机器或设备的有效运行的一般措施;一般绝热; |
| 申请人名称 | 国家电力投资集团有限公司 |
| 申请人地址 | 北京市西城区金融大街28号院3号楼 |
专利法律状态
2019-12-03
授权
状态信息
授权
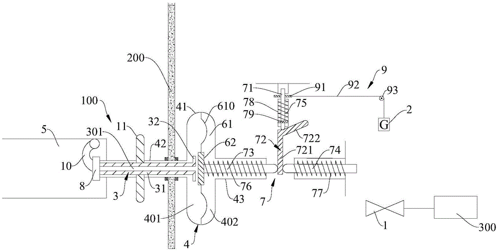
摘要
本实用新型公开了一种阀门系统和具有该阀门系统的核反应堆,所述阀门系统包括阀门、重物、驱动杆、第一容器、存储有加压流体的第二容器、设在第一容器内的弹性件、传动装置和设在第二容器内的阀瓣,驱动杆在手动操作下沿可平移,传动装置可将重物保持在初始位置,弹性件推动传动装置释放重物以便重物通过自身重力落到致动阀门的致动位置,其中驱动杆在沿第一方向平移时推动弹性件;驱动杆在沿第二方向平移时驱动阀瓣从关闭位置移动到打开位置以导通第一容器和第二容器,加压流体进入所述第一容器内推动弹性件。本实用新型的阀门系统为一种非能动的阀门系统,能够提供多重保障,提高了可靠性且结构相对简单,实现方便、成本低。


