授权公布号:CN115995915B
组合体以及风力发电机组
有效
申请
2022-11-30
申请公布
2023-04-21
授权
2023-10-20
预估到期
2042-11-30
| 申请号 | CN202211519250.7 |
| 申请日 | 2022-11-30 |
| 申请公布号 | CN115995915A |
| 申请公布日 | 2023-04-21 |
| 授权公布号 | CN115995915B |
| 授权公告日 | 2023-10-20 |
| 分类号 | H02K7/116;F03D15/00;F03D9/25;H02K7/18;H02K1/32;H02K11/21 |
| 分类 | 发电、变电或配电; |
| 申请人名称 | 金风科技股份有限公司 |
| 申请人地址 | 新疆维吾尔自治区乌鲁木齐市乌鲁木齐经济技术开发区上海路107号 |
专利法律状态
2023-10-20
授权
状态信息
授权
2023-09-01
著录事项变更
状态信息
著录事项变更;IPC(主分类):H02K7/116;变更事项:申请人;变更前:新疆金风科技股份有限公司;变更后:金风科技股份有限公司;变更事项:地址;变更前:830026 新疆维吾尔自治区乌鲁木齐市乌鲁木齐经济技术开发区上海路107号;变更后:830026 新疆维吾尔自治区乌鲁木齐市乌鲁木齐经济技术开发区上海路107号
2023-05-09
实质审查的生效
状态信息
实质审查的生效;IPC(主分类):H02K7/116;申请日:20221130
2023-04-21
公布
状态信息
公布
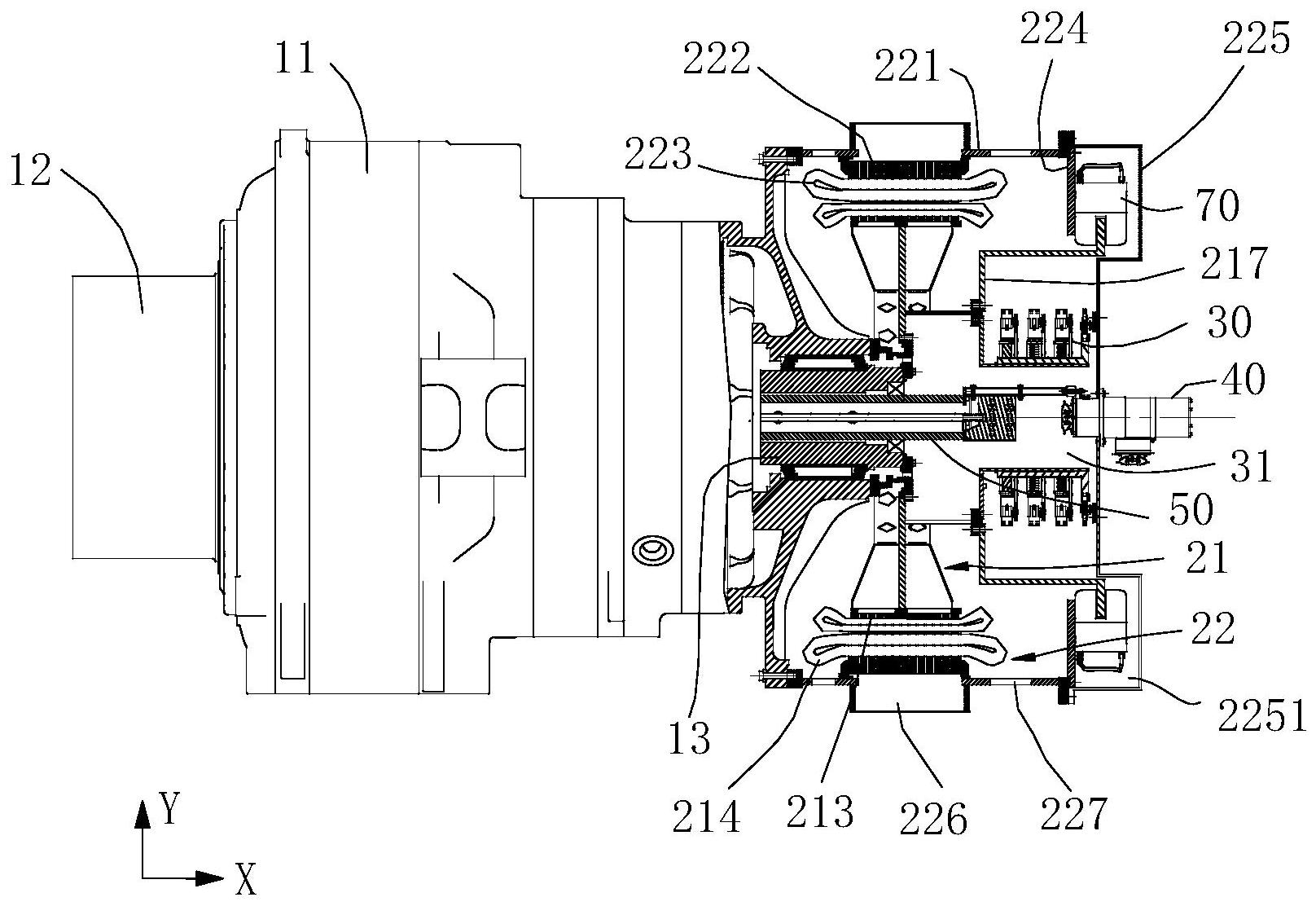
摘要
本申请涉及一种组合体以及风力发电机组,组合体包括:齿轮箱,包括箱体、设置于箱体内的输入轴、输出轴以及连接于输入轴和输出轴之间的齿轮系统;双馈发电机,与输入轴、输出轴均同轴设置,双馈发电机包括转动配合的转子以及定子,转子与输出轴连接,定子与箱体连接。本申请实施例提供的组合体以及风力发电机组,组合体能够满足动能的传递需求,且传递链结构简单,故障率低。


