授权公布号:CN218930448U
一种自热洗发慕斯的喷出装置
有效
申请
2022-12-13
申请公布
1970-01-01
授权
2023-04-28
预估到期
2032-12-13
| 申请号 | CN202223348391.5 |
| 申请日 | 2022-12-13 |
| 授权公布号 | CN218930448U |
| 授权公告日 | 2023-04-28 |
| 分类号 | B65D83/66;B65D83/28;B65D83/68;B65D47/04 |
| 分类 | 输送;包装;贮存;搬运薄的或细丝状材料; |
| 申请人名称 | 广州好迪集团有限公司 |
| 申请人地址 | 广东省广州市白云区广花三路386号 |
专利法律状态
2023-04-28
授权
状态信息
授权
摘要
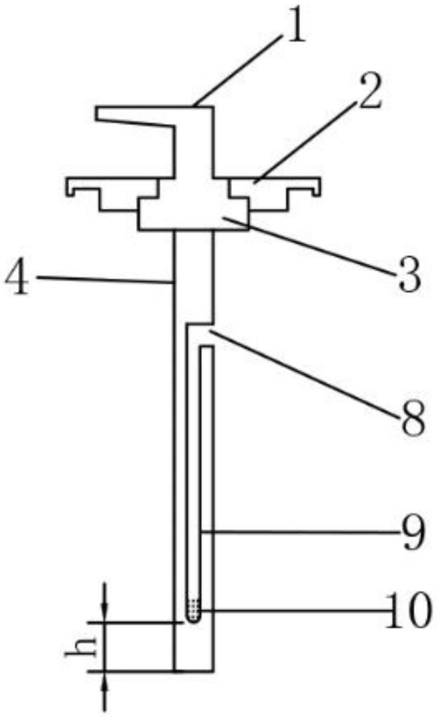
本实用新型所述自热洗发慕斯的喷出装置,由瓶盖、与瓶盖组合的压力阀、与压力阀进液口连接的第一导管、与压力阀出液口连接的喷头和第二导管组成;所述第一导管侧壁设置有一推进剂入孔,该推进剂入孔的位置是:当所述喷出装置与装有推进剂和洗发料体组成的自热洗发慕斯的瓶体或罐体组合后,推进剂入孔位于推进剂液面与洗发料体液面的分界面之上并靠近所述分界面;所述第二导管为水平段和垂直段组成的“『”形弯管,其水平段自由端为开敞结构,其垂直段的自由端为封闭结构但设置有多个推进剂出孔;第二导管位于第一导管内,其水平段自由端与第一导管侧壁设置的推进剂入孔衔接。


