授权公布号:CN214837339U
叶片、叶轮、风机和通风装置
有效
申请
2020-12-14
申请公布
1970-01-01
授权
2021-11-23
预估到期
2030-12-14
| 申请号 | CN202022996758.9 |
| 申请日 | 2020-12-14 |
| 授权公布号 | CN214837339U |
| 授权公告日 | 2021-11-23 |
| 分类号 | F04D29/26;F04D25/08;F04D29/02;F04D29/70 |
| 分类 | 液体变容式机械;液体泵或弹性流体泵; |
| 申请人名称 | 北京天山新材料技术有限公司 |
| 申请人地址 | 北京市石景山区八大处高科技园区双园路5号 |
专利法律状态
2021-11-23
授权
状态信息
授权
摘要
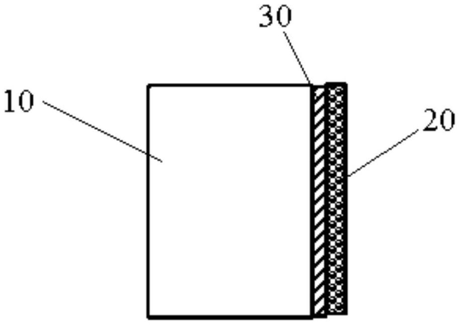
本实用新型提供了一种叶片、叶轮、风机和通风装置。叶片包括:叶片主体,叶片主体的至少一侧表面为粗糙面;防尘层,防尘层与粗糙面连接。本实用新型解决了现有技术中风机存在叶片表面容易积聚灰尘的问题。


