授权公布号:CN210965709U
一种分体式高分子黑胶灌注机
有效
申请
2019-11-07
申请公布
1970-01-01
授权
2020-07-10
预估到期
2029-11-07
| 申请号 | CN201921904049.4 |
| 申请日 | 2019-11-07 |
| 授权公布号 | CN210965709U |
| 授权公告日 | 2020-07-10 |
| 分类号 | B05C5/00 |
| 分类 | 一般喷射或雾化;对表面涂覆液体或其他流体的一般方法〔2〕; |
| 申请人名称 | 重庆新璜家科技有限公司 |
| 申请人地址 | 重庆市万州区申明中路99号 |
专利法律状态
2021-01-26
专利权人的姓名或者名称、地址的变更
状态信息
专利权人的姓名或者名称、地址的变更;IPC(主分类):B05C5/00;专利号:ZL2019219040494;变更事项:专利权人;变更前:重庆璜家化工有限公司;变更后:重庆新璜家科技有限公司;变更事项:地址;变更前:404135 重庆市万州区申明中路99号;变更后:404135 重庆市万州区申明中路99号
2020-07-10
授权
状态信息
授权
摘要
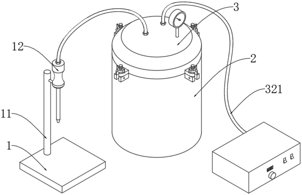
本实用新型涉及机械技术领域,尤其为一种分体式高分子黑胶灌注机,包括灌注平台,灌注平台的顶端边缘处安装有立杆,立杆的顶部位置处设置有套圈,套圈上套接有灌注笔,灌注平台的一侧设置有盛胶桶,盛胶桶的顶端套接有桶盖,桶盖的顶端安装有通胶接头,通胶接头的底端安装有直管,盛胶桶内套接有内桶,内桶内壁顶部的边缘位置处设有拎把。该分体式高分子黑胶灌注机,通过设置在盛胶桶内的内桶并在内桶上设置有拎把,可方便对黑胶进行清理的同时通过更换新的装有黑胶的内桶即可方便对黑胶进行更换。


