授权公布号:CN102120507B
能提供不同浓度活性成分的包装瓶及其在化妆品中的应用
有效
申请
2010-12-24
申请公布
2011-07-13
授权
2014-03-26
预估到期
2030-12-24
| 申请号 | CN201010604422.1 |
| 申请日 | 2010-12-24 |
| 申请公布号 | CN102120507A |
| 申请公布日 | 2011-07-13 |
| 授权公布号 | CN102120507B |
| 授权公告日 | 2014-03-26 |
| 分类号 | B65D23/06;B65D83/00 |
| 分类 | 输送;包装;贮存;搬运薄的或细丝状材料; |
| 申请人名称 | 广州好迪集团有限公司 |
| 申请人地址 | 广东省广州市白云区广花三路386号 |
专利法律状态
2014-03-26
授权
状态信息
授权
2011-08-24
实质审查的生效
状态信息
实质审查的生效IPC(主分类):B65D 23/06申请日:20101224
2011-07-13
公布
状态信息
公布
摘要
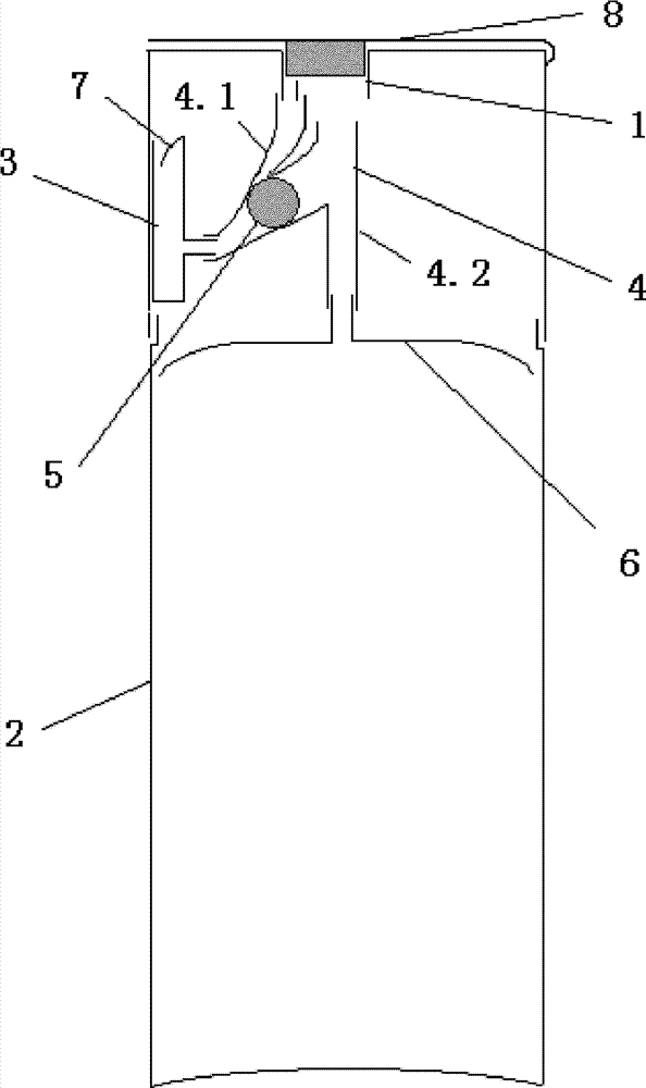
本发明公开了一种可根据使用次数自动提供不同活性成分浓度的包装瓶,包括瓶身、瓶盖,瓶口,瓶身内包括附件,附件包括通道、可自动收集回流液体的容器及隔断,可自动收集回流液体的容器固定于瓶身内壁,液体被收集后不能从流进处流出;通道由两条可以切换的两条管路组成,其中一条管路流出液体时,另外一条管路闭合,隔断周边单向流进液体。本发明拓宽了现有化妆品的原料选择余地,使更多优秀配方成为可能;增强了使用功效性产品的便捷性;降低了化妆品的购买费用,并能大大减少包装瓶的废弃量,经济且环保。


