授权公布号:CN220645599U
一种暗门用可抽拉合页装置及暗门装配系统
有效
申请
2023-08-18
申请公布
1970-01-01
授权
2024-03-22
预估到期
2033-08-18
| 申请号 | CN202322226114.5 |
| 申请日 | 2023-08-18 |
| 授权公布号 | CN220645599U |
| 授权公告日 | 2024-03-22 |
| 分类号 | E05D7/04 |
| 分类 | 锁;钥匙;门窗零件;保险箱; |
| 申请人名称 | 苏州金螳螂建筑装饰股份有限公司 |
| 申请人地址 | 江苏省苏州市中国(江苏)自由贸易试验区苏州片区苏州工业园区金尚路99号 |
专利法律状态
2024-03-22
授权
状态信息
授权
摘要
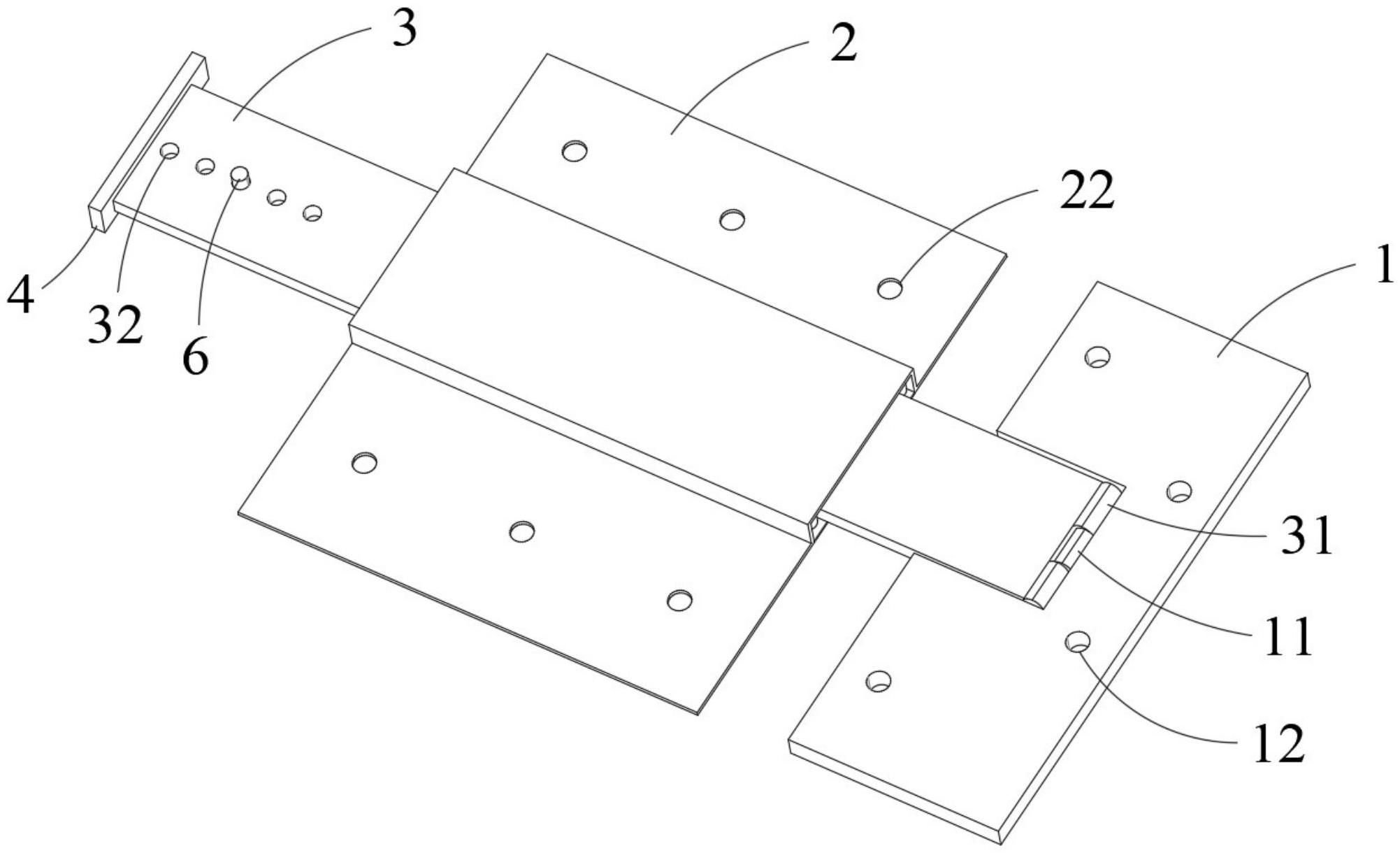
本实用新型属于合页装置技术领域,具体涉及一种暗门用可抽拉合页装置及暗门装配系统,本暗门用可抽拉合页装置包括:第一固定页片、第二固定页片和拉伸调节块;第一固定页片固定于第一固定面,第二固定页片固定于第二固定面,拉伸调节块穿过第二固定页片,拉伸调节块的一端与第一固定页片铰接;本实用新型通过第一固定页片固定门扇、第二固定页片固定墙面,通过拉伸调节块实现门扇既能相对墙面转动又能相对墙面移动,满足医院走廊暗门可抽拉合页的需求,有效打破传统合页的局限性,无需进行现场动火焊接作业,可在门扇上设置贯通式扶手,无需断开设计,可以任意调节门扇的开启角度,最高至180度平开,可充分满足消防验收的需求。


