授权公布号:CN105840691B
一种有自由行程的自动离合装置及旋转门机构
有效
申请
2016-05-24
申请公布
2016-08-10
授权
2018-09-18
预估到期
2036-05-24
| 申请号 | CN201610349276.X |
| 申请日 | 2016-05-24 |
| 申请公布号 | CN105840691A |
| 申请公布日 | 2016-08-10 |
| 授权公布号 | CN105840691B |
| 授权公告日 | 2018-09-18 |
| 分类号 | F16D41/02;E05F15/00 |
| 分类 | 工程元件或部件;为产生和保持机器或设备的有效运行的一般措施;一般绝热; |
| 申请人名称 | 上海华铭智能终端设备股份有限公司 |
| 申请人地址 | 上海市松江区茸北工业区施惠路北侧 |
专利法律状态
2018-09-18
授权
状态信息
授权
2016-09-07
实质审查的生效
状态信息
实质审查的生效IPC(主分类):F16D 41/02申请日:20160524
2016-08-10
公布
状态信息
公开
摘要
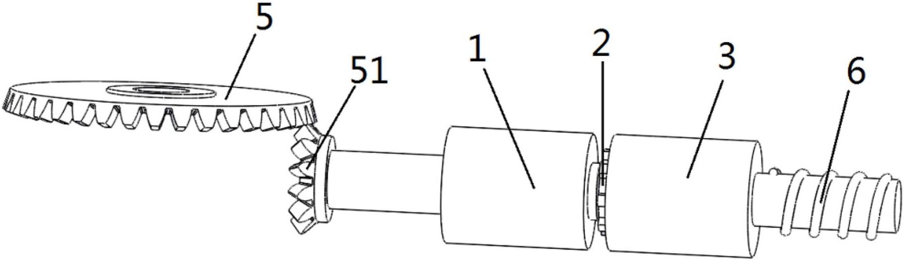
本发明提供了一种有自由行程的自动离合装置,自动离合装置包括第一驱动轴、离合驱动件、第二驱动轴,第一驱动轴通过离合驱动组件与第二驱动轴传动连接,第一驱动轴为阶梯轴,第一驱动轴的小端轴表面设有螺纹,离合驱动件旋设在螺纹上,第一驱动轴小端的端面设有用于封挡离合驱动件的挡板,第二驱动轴一端端面设有沉孔,第一驱动轴的小端、离合驱动件、挡板均嵌入在沉孔内,离合驱动件与第二驱动轴通过力矩传递的方式连接且可相对于沉孔内壁沿轴向滑动。与现有技术相比,本发明的自动离合装置结构简单,设计合理,制作方便,降低了成本,传递力矩可靠、应用范围广,实用性强。


