授权公布号:CN213197790U
一种塑料管路加工用固定装置
有效
申请
2020-09-07
申请公布
1970-01-01
授权
2021-05-14
预估到期
2030-09-07
| 申请号 | CN202021933310.6 |
| 申请日 | 2020-09-07 |
| 授权公布号 | CN213197790U |
| 授权公告日 | 2021-05-14 |
| 分类号 | B26D7/02;B25B11/00 |
| 分类 | 手动切割工具;切割;切断; |
| 申请人名称 | 江苏品升管业股份有限公司 |
| 申请人地址 | 江苏省苏州市吴江市七都镇临湖经济区中区创举路 |
专利法律状态
2021-05-14
授权
状态信息
授权
摘要
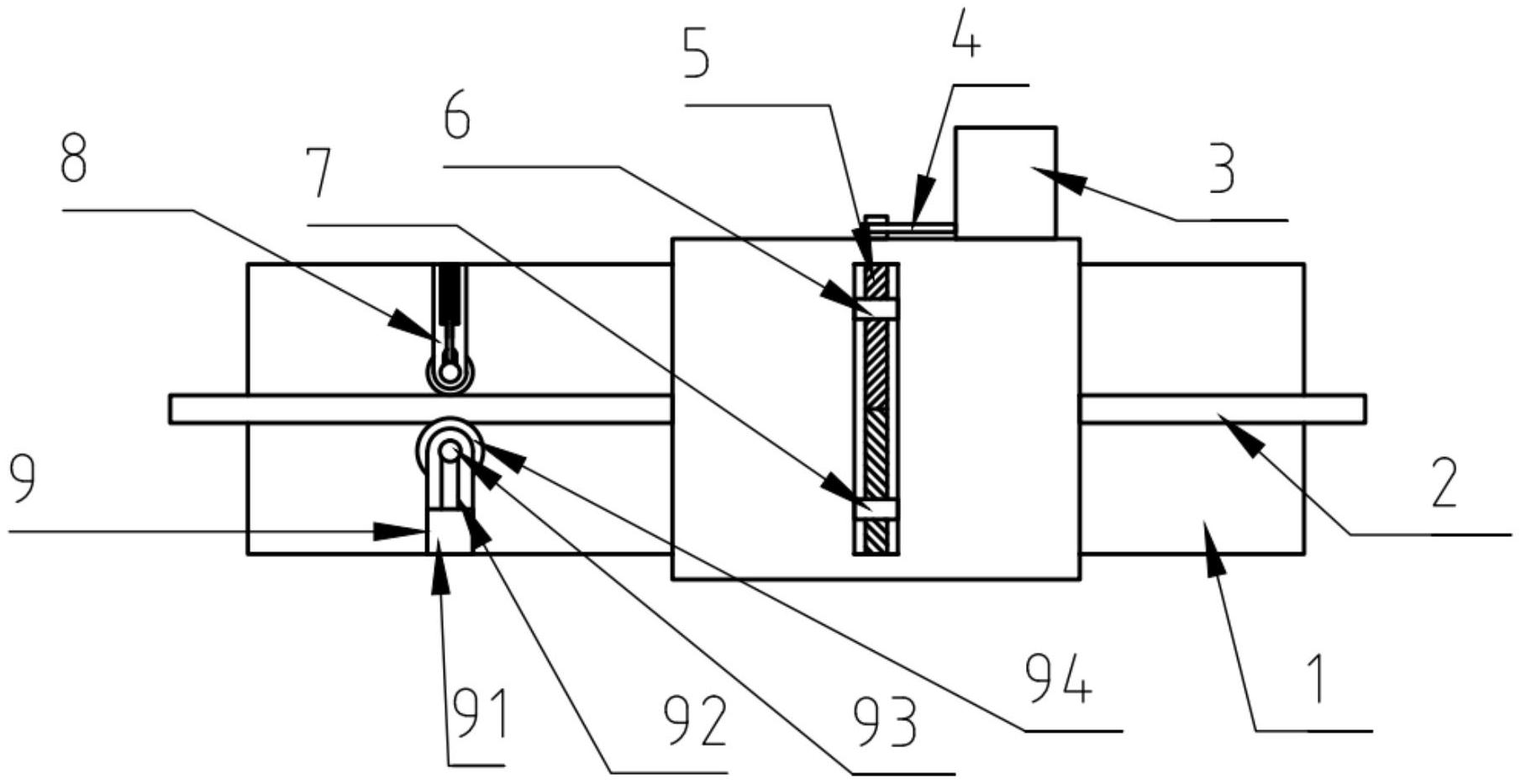
本实用新型公开了一种塑料管路加工用固定装置,包括安装平板,所述安装平板上依次安装有横向限位固定机构和纵向限位固定机构,所述横向限位固定机构包括驱动移动座和旋转限位座,所述驱动移动座和旋转限位座间设置空隙,塑料管路从所述空隙中穿过,所述纵向限位固定机构包括上固定架和下固定架,所述塑料管路由所述上固定架和下固定架夹持固定,且所述上固定架可以上下移动,所述下固定架可以上下移动。通过驱动移动座和旋转限位座实现横向方向的固定,并且兼备驱动移动的功能,通过上固定架和下固定架实现纵向的固定,可以稳定所述管路实现夹紧,防止滑动。


