授权公布号:CN216760146U
一种克拉管PP辅助支撑管用打孔装置
有效
申请
2021-12-21
申请公布
1970-01-01
授权
2022-06-17
预估到期
2031-12-21
| 申请号 | CN202123212806.1 |
| 申请日 | 2021-12-21 |
| 授权公布号 | CN216760146U |
| 授权公告日 | 2022-06-17 |
| 分类号 | B26F1/24;B26D7/00 |
| 分类 | 手动切割工具;切割;切断; |
| 申请人名称 | 福建亚通新材料科技股份有限公司 |
| 申请人地址 | 福建省福州市福清市镜洋工业区 |
专利法律状态
2022-06-17
授权
状态信息
授权
摘要
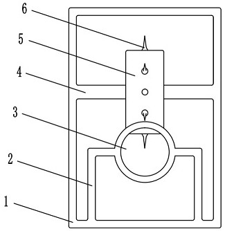
本实用新型涉及塑料管材技术领域,尤其涉及一种克拉管PP辅助支撑管用打孔装置,包括装置壁、两个支撑架、两个通道、支撑轴、滚轮、八根长钉、十颗滚动钢珠和凹槽。所述装置结构简单,操作便捷,利用克拉管生产过程中钢制滚筒模具的转动,带动所述装置运作,在PP辅助支撑管上打出均匀的孔,解决因PP辅助支撑管吸潮导致“O”型带鼓包的问题,改善了克拉管的外观和质量。


