授权公布号:CN209839451U
一种保温复合管连接结构
有效
申请
2018-12-20
申请公布
1970-01-01
授权
2019-12-24
预估到期
2028-12-20
| 申请号 | CN201822150558.4 |
| 申请日 | 2018-12-20 |
| 授权公布号 | CN209839451U |
| 授权公告日 | 2019-12-24 |
| 分类号 | F16L47/03 |
| 分类 | 工程元件或部件;为产生和保持机器或设备的有效运行的一般措施;一般绝热; |
| 申请人名称 | 浙江伟星新型建材股份有限公司 |
| 申请人地址 | 浙江省台州市临海经济开发区 |
专利法律状态
2019-12-24
授权
状态信息
授权
摘要
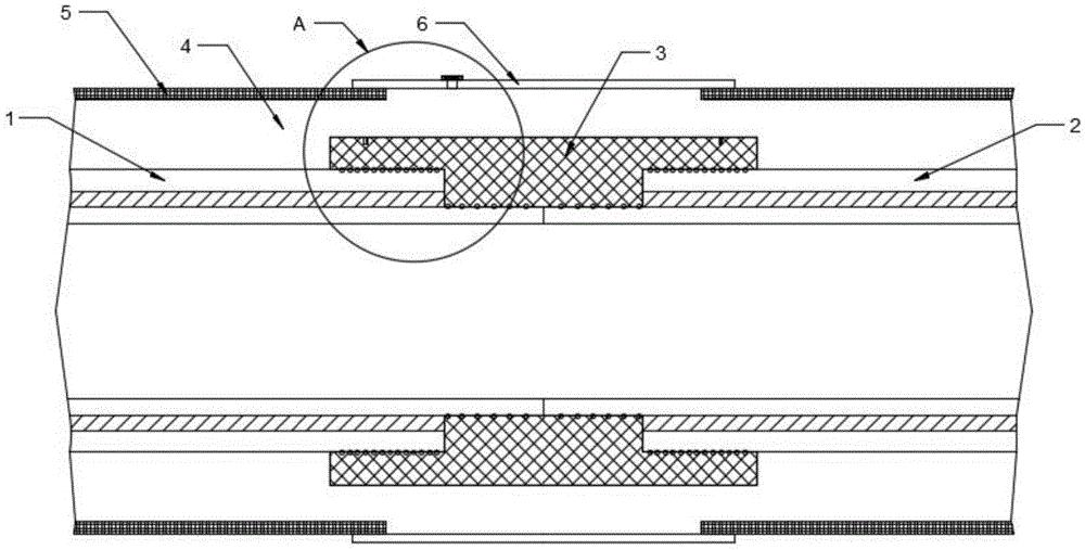
本实用新型涉及管道连接领域,尤其是一种保温复合管连接结构。该保温复合管连接结构,包括第一复合管、第二复合管、用于热熔连接所述第一复合管、所述第二复合管的电熔管件,所述第一复合管、所述第二复合管均由包覆层、内衬层以及位于所述包覆层、所述内衬层之间的增强层组成,所述电熔管件设有与所述内衬层接触的第一焊接面和与所述包覆层接触的第二焊接面,所述第一焊接面和所述第二焊接面均设有电阻丝。通过分别与包覆层、内衬层电熔连接的电熔管件使该保温复合管连接结构具有更好的密封效果,同时具有更好的轴向抗拉能力。


