授权公布号:CN214036902U
一种新型钢塑复合压力管道截止阀式管件
有效
申请
2020-12-18
申请公布
1970-01-01
授权
2021-08-24
预估到期
2030-12-18
| 申请号 | CN202023068079.1 |
| 申请日 | 2020-12-18 |
| 授权公布号 | CN214036902U |
| 授权公告日 | 2021-08-24 |
| 分类号 | F16K1/00;F16K1/48;F16K27/02;F16K35/02;F16K41/02 |
| 分类 | 工程元件或部件;为产生和保持机器或设备的有效运行的一般措施;一般绝热; |
| 申请人名称 | 天津军星管业集团有限公司 |
| 申请人地址 | 天津市武清区梅厂镇福源经济开发区开源路一号 |
专利法律状态
2021-08-24
授权
状态信息
授权
摘要
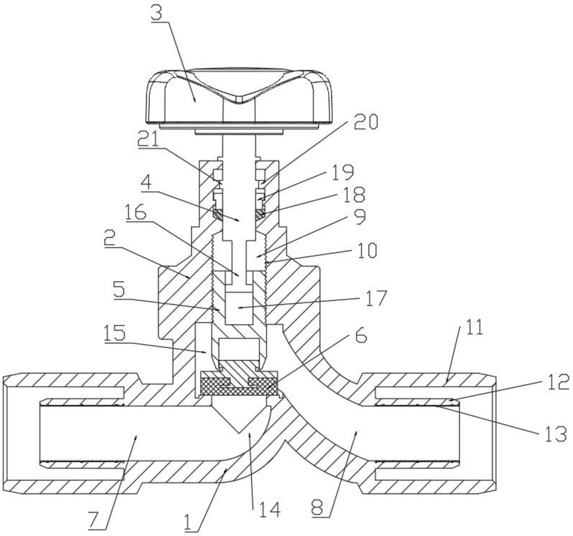
本实用新型提供一种新型钢塑复合压力管道截止阀式管件,包括阀体、阀盖、手轮、阀杆A、阀杆B、阀盘、热熔承插部件和卡位机构,阀体左右两端设置有进水口和出水口,进水口和出水口上设置有热熔承插部件,阀体顶部设置有阀盖,阀盖内竖向开设有安装腔,安装腔底端内壁开设有内螺纹,阀杆B通过外螺纹旋拧安装于安装腔内,阀杆B下方设置有阀盘,阀杆B上方设置有阀杆A,阀杆A与安装腔之间设置有卡位机构,阀杆A顶部设置有手轮,卡位机构的使每次调整完阀盘的位置后都将阀杆A和阀杆B锁死不能旋转,进一步防止螺纹松动的情况发生,防流量波动,通过设置有热熔承插部件,可专门用于钢塑复合管道之间的截止阀连接,增加了对于钢塑复合管道的适用性。


