授权公布号:CN219255973U
一种钢筒混凝土管加工用表面抹灰装置
有效
申请
2022-12-01
申请公布
1970-01-01
授权
2023-06-27
预估到期
2032-12-01
| 申请号 | CN202223209156.X |
| 申请日 | 2022-12-01 |
| 授权公布号 | CN219255973U |
| 授权公告日 | 2023-06-27 |
| 分类号 | B28B19/00 |
| 分类 | 加工水泥、黏土或石料; |
| 申请人名称 | 新疆国统管道股份有限公司 |
| 申请人地址 | 新疆维吾尔自治区乌鲁木齐市林泉西路765号 |
专利法律状态
2023-06-27
授权
状态信息
授权
摘要
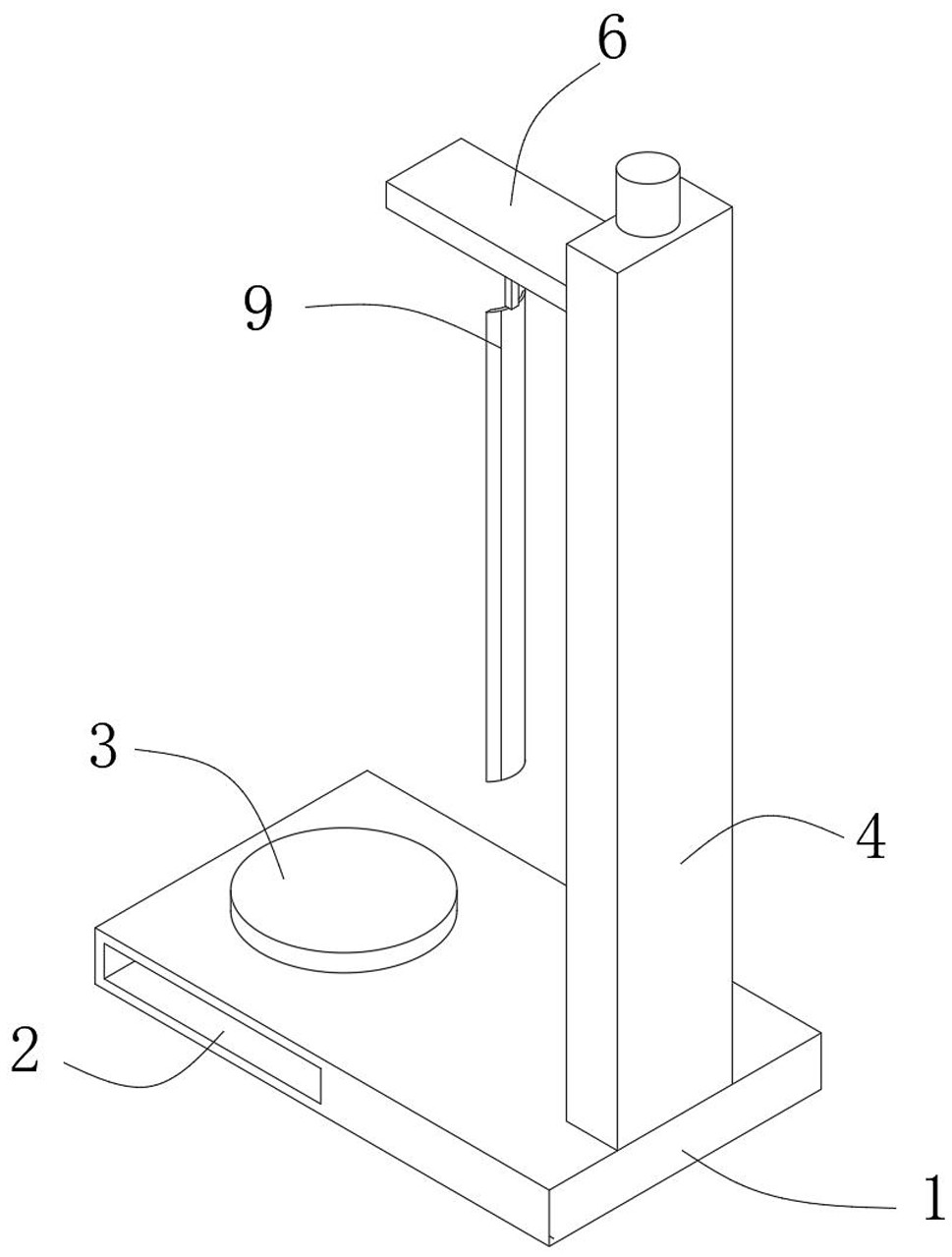
本实用新型公开了一种钢筒混凝土管加工用表面抹灰装置,涉及钢筒混凝土管加工技术领域。本实用新型包括底座,底座的内部开设有通槽,通槽内底面转动连接有转柱,转柱贯穿底座上端与其转动连接,底座的上端固定连接有支撑板,支撑板的一侧开设有第一滑槽,第一滑槽内滑动连接有升降板。本实用新型通过将表面需要抹灰的混凝土圆管竖直的放置在转柱上,通过启动第一伺服电机可以利用第一螺纹杆带动升降板移动,以此可以方便对高度较高的圆管进行操作,通过拧动第二螺纹杆可以带动滑块和弧形板移动,使得弧形板能与混凝土圆管表面贴合,随后使用喷涂机器对混凝土圆管表面喷涂细致的水泥砂浆。


