授权公布号:CN108789794B
PCCP喷浆系统及其应用
有效
申请
2018-05-31
申请公布
2018-11-13
授权
2024-02-27
预估到期
2038-05-31
| 申请号 | CN201810550208.9 |
| 申请日 | 2018-05-31 |
| 申请公布号 | CN108789794A |
| 申请公布日 | 2018-11-13 |
| 授权公布号 | CN108789794B |
| 授权公告日 | 2024-02-27 |
| 分类号 | B28B11/22;B28B19/00;B24B27/033;G01N1/10;G01N1/28 |
| 分类 | 加工水泥、黏土或石料; |
| 申请人名称 | 新疆国统管道股份有限公司 |
| 申请人地址 | 新疆维吾尔自治区乌鲁木齐市米东区林泉西路765号 |
专利法律状态
2024-02-27
授权
状态信息
授权
2018-12-07
实质审查的生效
状态信息
实质审查的生效;IPC(主分类):B28B11/22;申请日:20180531
2018-11-13
公布
状态信息
公布
摘要
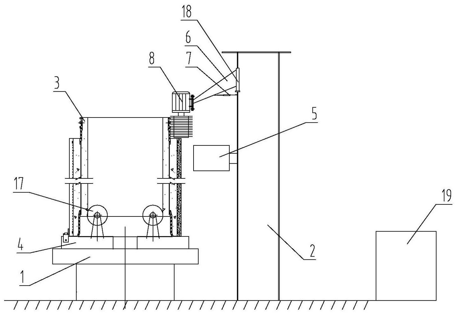
本申请涉及一种PCCP管喷浆装置,尤其涉及一种PCCP喷浆系统及其应用;其包括回转平台和立于回转平台一旁的立柱;回转平台的上端面上设有用于卡装固定PCCP管的支座,立柱上可活动的安装有为PCCP管进行砂浆辊射的喷浆机;支座上固定有紧贴于PCCP管外壁的取样装置。由于实施上述技术方案,本申请通过将取样装置固定在支座上并且紧贴于PCCP管外壁,取样装置可稳定承受辊射力、回转平台离心力,取样过程安全、方便、快捷;通过气缸将转动电刷推至PCCP管的插口的工作面处,使转动电刷上的钢丝滚刷紧贴插口的工作面,启动转动电刷和回转平台,即可将插口均匀、快捷、简单、高效的清理完毕。


