授权公布号:CN219062636U
一种大口径PCCP管施工安装液压机
有效
申请
2022-10-27
申请公布
1970-01-01
授权
2023-05-23
预估到期
2032-10-27
| 申请号 | CN202222844775.X |
| 申请日 | 2022-10-27 |
| 授权公布号 | CN219062636U |
| 授权公告日 | 2023-05-23 |
| 分类号 | F16L1/024;F16L1/06 |
| 分类 | 工程元件或部件;为产生和保持机器或设备的有效运行的一般措施;一般绝热; |
| 申请人名称 | 新疆国统管道股份有限公司 |
| 申请人地址 | 新疆维吾尔自治区乌鲁木齐市林泉西路765号 |
专利法律状态
2023-05-23
授权
状态信息
授权
摘要
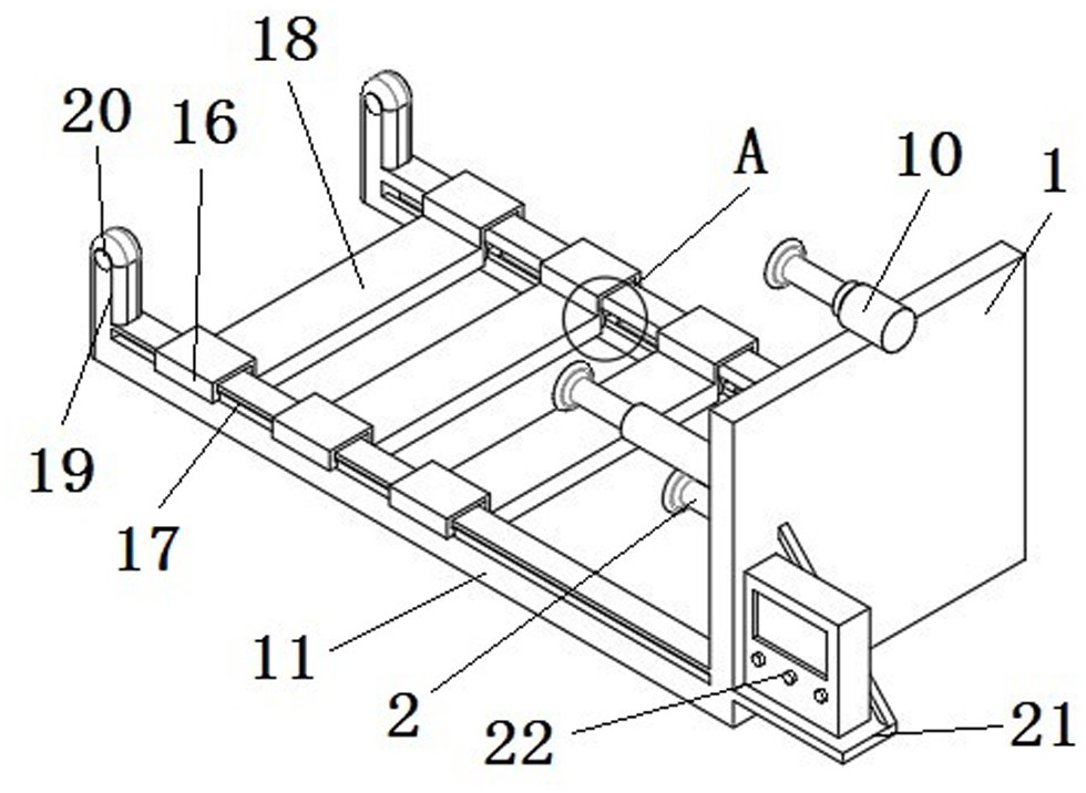
本实用新型公开了一种大口径PCCP管施工安装液压机,涉及PCCP管技术领域。本实用新型包括安装板,安装板一侧面焊接有底座液压器和支撑架,安装板一侧面设置有调节槽和固定槽,调节槽内一侧面安装有调节块,调节槽和调节块滑动配合,调节块一侧面焊接有固定板。本实用新型通过安装弹簧缓冲垫板,将安装管材吊装至弹簧缓冲垫板组成的导向轮和导轨形成的平台上,并利用滑动槽和导向轮转动配合,减少管材安装推进中摩擦力,同时利用红外激光进行定位,便于调整管材水平位置,然后通过安装液压控制器,控制其缓慢推动底座液压器和两侧上端液压器,同时使其液压顶盘与管材端面接触,然后加压装置即可使其连接,节省了大量人力物力。


