授权公布号:CN213057695U
一种PE燃气管承接输送装置
有效
申请
2020-08-10
申请公布
1970-01-01
授权
2021-04-27
预估到期
2030-08-10
| 申请号 | CN202021639699.3 |
| 申请日 | 2020-08-10 |
| 授权公布号 | CN213057695U |
| 授权公告日 | 2021-04-27 |
| 分类号 | B65B35/30 |
| 分类 | 输送;包装;贮存;搬运薄的或细丝状材料; |
| 申请人名称 | 国机通用机械科技股份有限公司 |
| 申请人地址 | 安徽省合肥市经开区蓬莱路616号 |
专利法律状态
2021-04-27
授权
状态信息
授权
摘要
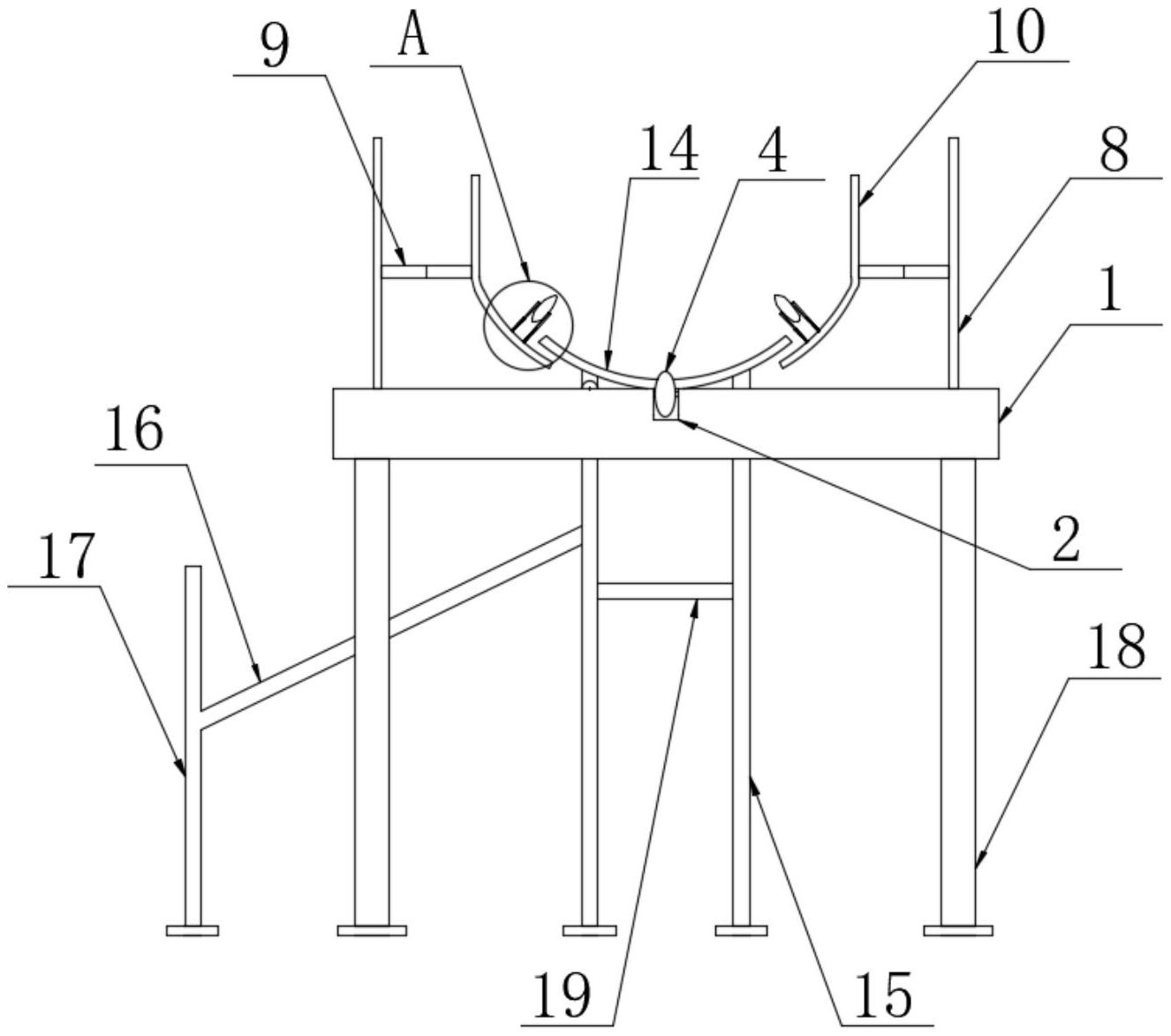
本实用新型公开了一种PE燃气管承接输送装置,具体涉及管材生产领域,包括平台,所述平台顶部设有槽口,所述槽口内部两侧均设有卡槽,所述卡槽之间设有滑轮,所述平台两侧均设有支撑架,所述支撑架一侧固定连接有伸缩杆,所述伸缩杆另一端固定连接有挡板,所述挡板一侧底部设有辅助轮,所述辅助轮两侧均设有滑杆,所诉滑杆内部设有第二弹簧。本实用新型通过设置带有伸缩杆的挡板,可以调节两侧挡板之间的距离,匹配不同直径的管材,同时在挡板底部设置辅助轮,更加有利于管材的通过,管材通过时滑杆会有伸缩,从而不会对管材造成挤压损伤,也减弱了调节挡板时间距控制的绝对性。


