授权公布号:CN215661208U
PP-R管原料物料快速混合冷却装置
有效
申请
2021-08-06
申请公布
1970-01-01
授权
2022-01-28
预估到期
2031-08-06
| 申请号 | CN202121828395.6 |
| 申请日 | 2021-08-06 |
| 授权公布号 | CN215661208U |
| 授权公告日 | 2022-01-28 |
| 分类号 | B29B7/44;B29B7/60;B29B7/82 |
| 分类 | 塑料的加工;一般处于塑性状态物质的加工; |
| 申请人名称 | 国机通用机械科技股份有限公司 |
| 申请人地址 | 安徽省合肥市经开区蓬莱路616号 |
专利法律状态
2022-01-28
授权
状态信息
授权
摘要
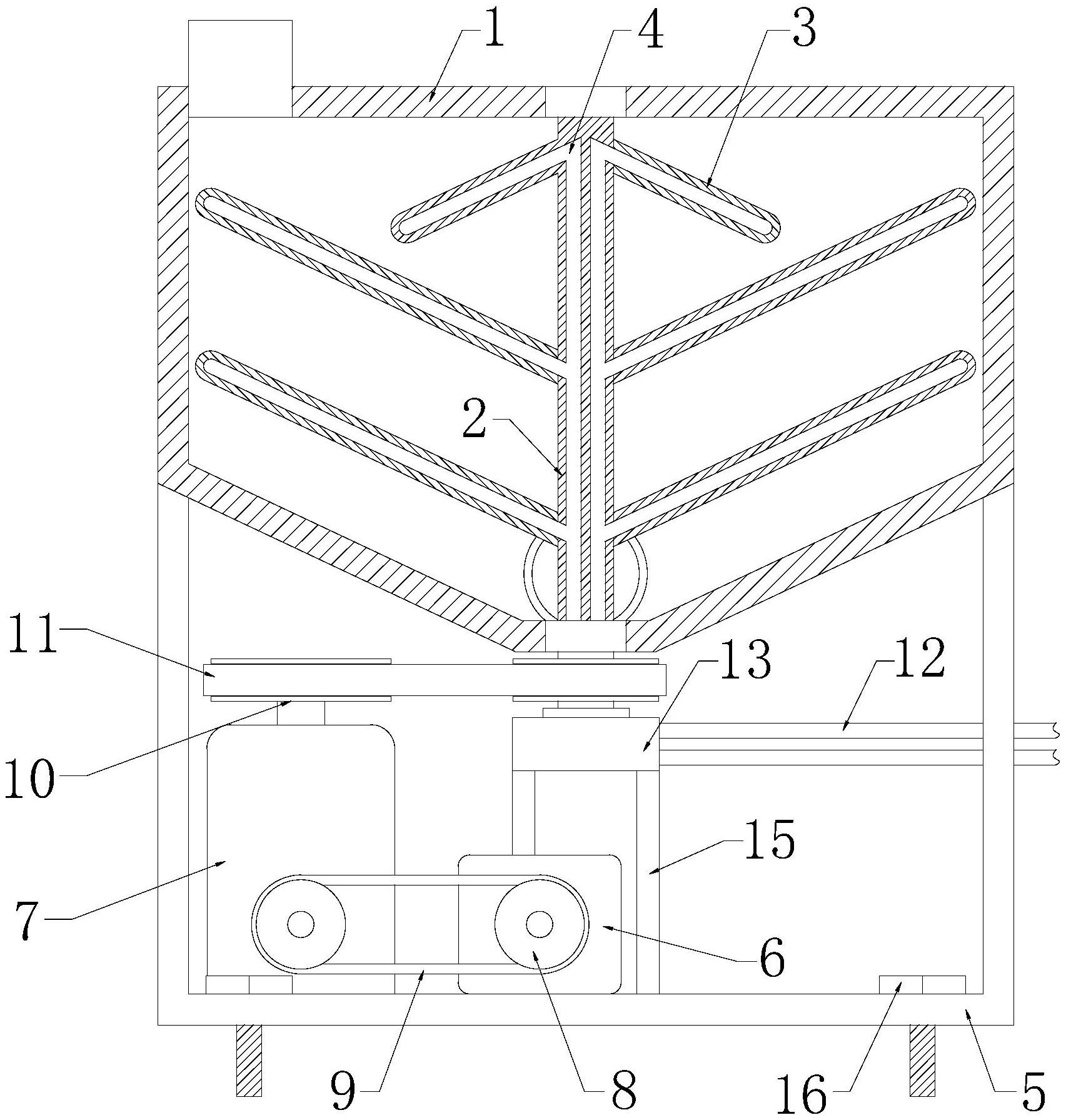
本实用新型涉及PP‑R管生产技术领域,且公开了一种PP‑R管原料物料快速混合冷却装置,包括混料箱,混料箱内设有竖直设置的转杆,转杆的一端贯穿混料箱的下侧壁并向外延伸,且转杆通过两个轴承与混料箱转动连接,转杆的杆壁还固定套接有多个搅拌叶片,转杆和多个搅拌叶片内开设有循环水路,且循环水路的进水口和出水口均位于转杆的底部,混料箱的底部固定有框架,且框架内设有与循环水路相匹配的导水组件,框架内固定有驱动电机和变速箱。本实用新型能够在物料的混合过程中进行快速冷却,同时能够根据需要调节转动,保证冷却的效率和效果。


