授权公布号:CN213598809U
偏移弯曲接头及管道系统
有效
申请
2020-07-16
申请公布
1970-01-01
授权
2021-07-02
预估到期
2030-07-16
| 申请号 | CN202021409975.7 |
| 申请日 | 2020-07-16 |
| 授权公布号 | CN213598809U |
| 授权公告日 | 2021-07-02 |
| 分类号 | F16L43/00;F16L47/06 |
| 分类 | 工程元件或部件;为产生和保持机器或设备的有效运行的一般措施;一般绝热; |
| 申请人名称 | 上海天力实业(集团)有限公司 |
| 申请人地址 | 上海市奉贤区金汇镇金斗路288号 |
专利法律状态
2021-07-02
授权
状态信息
授权
摘要
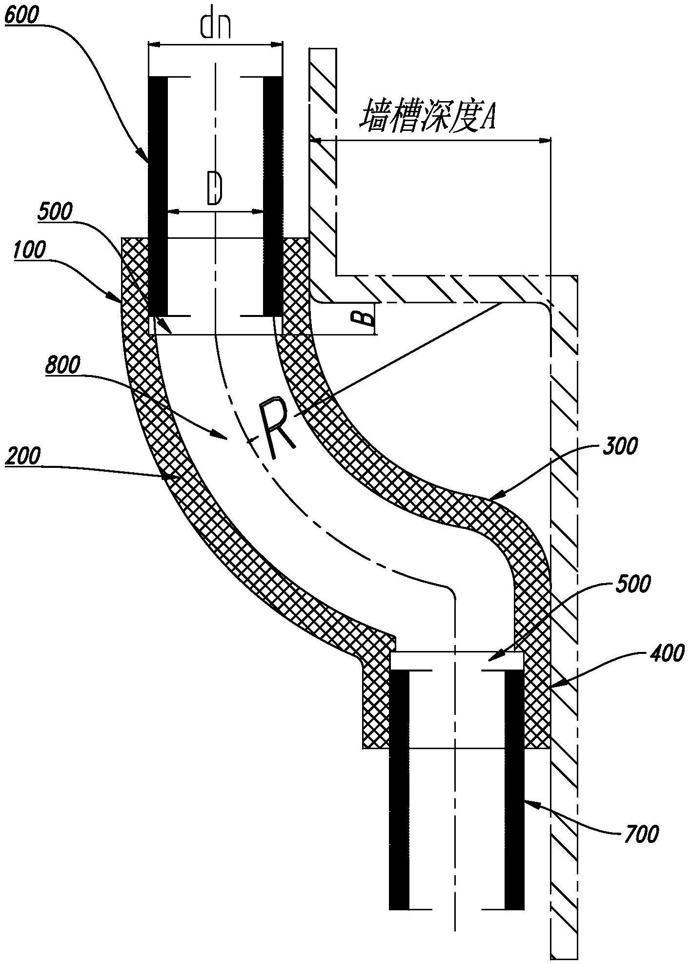
本申请提供了一种偏移弯曲接头及管道系统,该偏移弯曲接头包括呈中空结构的管体,管体包括依次连接的第一接口部、第一弯曲部、第二弯曲部和第二接口部;第一弯曲部与第一接口部相切;第一弯曲部和第二弯曲部平滑连接,第一弯曲部的弯曲角度等于第二弯曲部的弯曲角度,且二者的弯曲方向相反;第一弯曲部的中心弯曲半径为1.5dn~2.5dn,且大于第二弯曲部的中心弯曲半径,dn为第一接口部处的承口的内径。第一弯曲部的中心弯曲半径合适,既可以使得偏移弯曲接头整体的长度较小,并且也可便于从模具脱出。上述偏移弯曲接头的整体长度较小,结构简单,相应的模具结构也相对简单,脱模方便,降低了生产工艺的难度,可更好保障产品质量。


