授权公布号:CN210266265U
一种可拆卸管材铜件
有效
申请
2019-06-12
申请公布
1970-01-01
授权
2020-04-07
预估到期
2029-06-12
| 申请号 | CN201920874264.8 |
| 申请日 | 2019-06-12 |
| 授权公布号 | CN210266265U |
| 授权公告日 | 2020-04-07 |
| 分类号 | F16L19/02 |
| 分类 | 工程元件或部件;为产生和保持机器或设备的有效运行的一般措施;一般绝热; |
| 申请人名称 | 金塑企业集团(上海)有限公司 |
| 申请人地址 | 上海市青浦区汇滨路1969号 |
专利法律状态
2020-04-07
授权
状态信息
授权
摘要
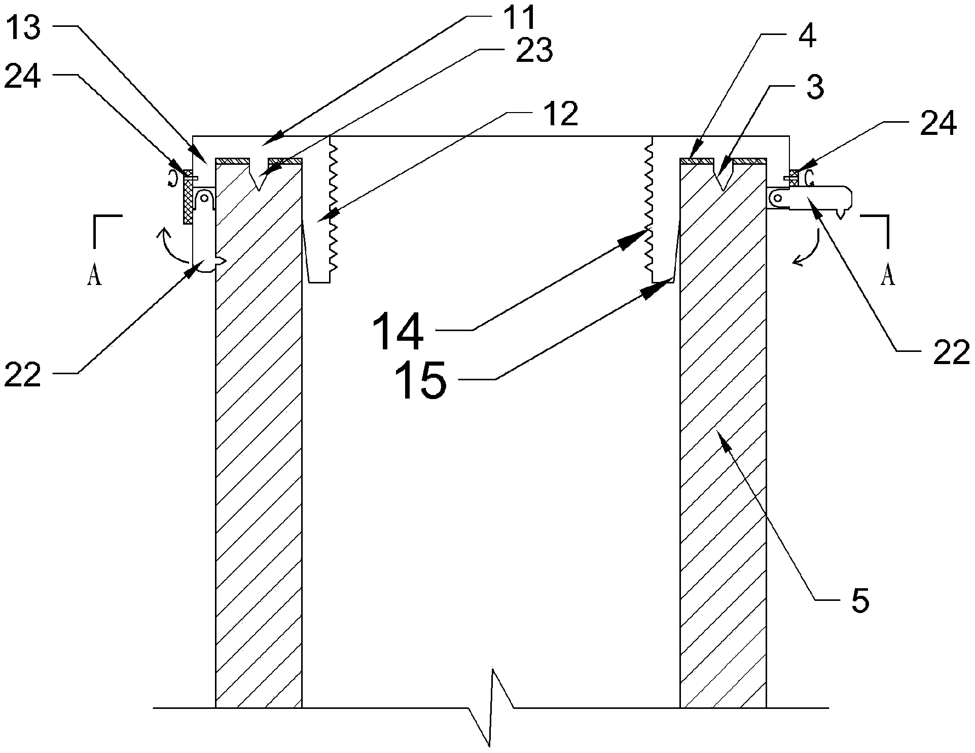
本实用新型提出一种可拆卸管材铜件,管材铜件包括端板、内侧板和外侧板,端板呈环状,端板的内侧沿边设有内侧板,外侧沿边设有外侧板,内侧板和外侧板位于端板的同一侧,内侧板背对外侧板的一侧设有内螺纹,外侧板的端部周向均匀设有至少三个环扣,环扣上设有可翻转的钩扣件,钩扣件上设有一扣钉;钩扣件翻起时,钩扣件垂直于外侧板,钩扣件扣下时,钩扣件平行于外侧板。本申请中,管材铜件直接可拆卸的安装在管材的端部,安装方便,且可直接通过螺纹与对应管道接头连接。同时,管材铜件上的紧固结构可手动调节启闭,即可翻转的钩扣件手动扣压在管材外侧,无需其他部件的配合。


