授权公布号:CN210953060U
一种PVC给水管生产用进料计重装置
有效
申请
2019-12-04
申请公布
1970-01-01
授权
2020-07-07
预估到期
2029-12-04
| 申请号 | CN201922155850.X |
| 申请日 | 2019-12-04 |
| 授权公布号 | CN210953060U |
| 授权公告日 | 2020-07-07 |
| 分类号 | G01G19/02 |
| 分类 | 测量;测试; |
| 申请人名称 | 天津金鹏管业有限公司 |
| 申请人地址 | 天津市蓟州区专用汽车产业园盘龙山路东侧、漳河街北侧 |
专利法律状态
2020-07-07
授权
状态信息
授权
摘要
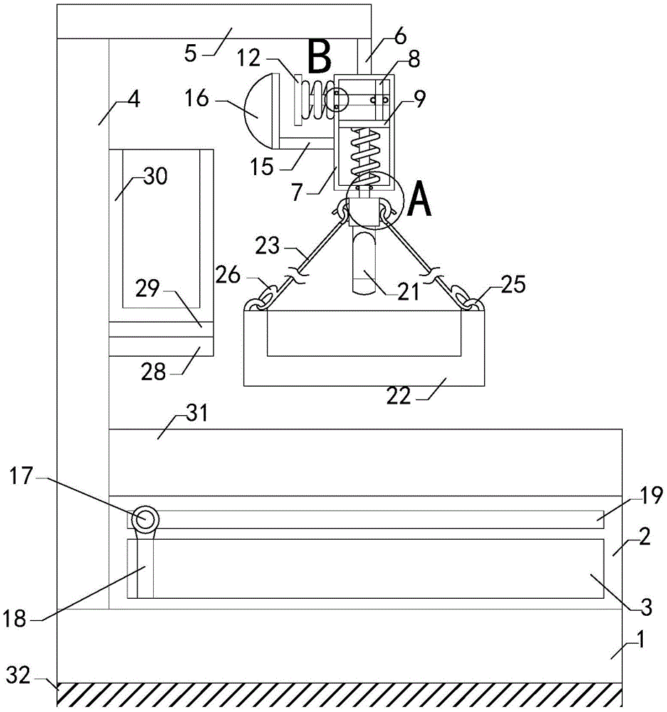
本实用新型涉及进料计重附属装置的技术领域,特别是涉及一种PVC给水管生产用进料计重装置,其能够对称重的物料进行限定,降低称重的物料过重时对计量称压坏的概率,从而提高其使用可靠性;包括底板和计量称,计量称前侧设置有显示屏;底板顶端左侧连接有侧板,侧板顶端连接有顶板,顶板底端右侧连接有限定杆,还包括检测箱、限位杆、连接块、第一套簧和吊杆,检测箱底端中心纵向设置有第一通槽,第一通槽内侧可转动固定有第一滚珠组,还包括遮挡板、弹杆和第二套簧,检测箱左侧横向设置有第二通槽,第二通槽内侧可转动固定有第二滚珠组,弹杆右侧纵向设置有第三通槽,第三通槽内侧壁可转动固定有第三滚珠组,还包括支撑柱和光感夜灯。


