授权公布号:CN208298628U
BV线自动化生产线
有效
申请
2018-05-08
申请公布
1970-01-01
授权
2018-12-28
预估到期
2028-05-08
| 申请号 | CN201820681177.6 |
| 申请日 | 2018-05-08 |
| 授权公布号 | CN208298628U |
| 授权公告日 | 2018-12-28 |
| 分类号 | H01B13/14;H01B13/24;B65B5/08;B65B13/32;B65B35/50;B65B53/02;B65C9/26;B29C47/02;B29C47/06 |
| 分类 | 基本电气元件; |
| 申请人名称 | 福建南平太阳电缆股份有限公司 |
| 申请人地址 | 福建省南平市工业路102号 |
专利法律状态
2018-12-28
授权
状态信息
授权
摘要
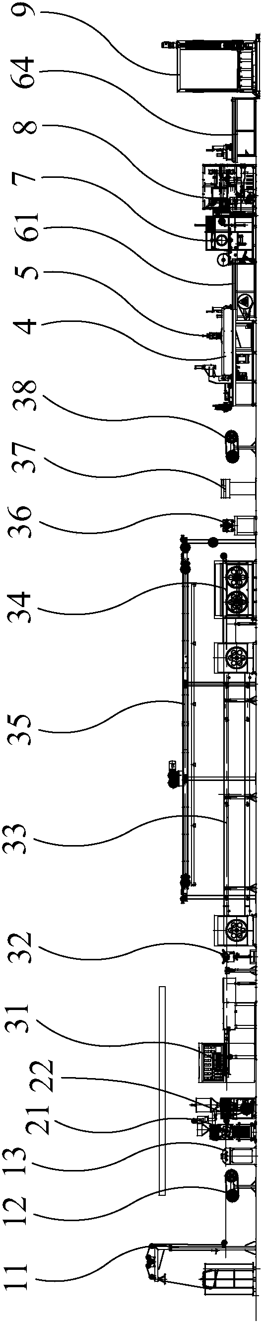
本实用新型公开了BV线自动化生产线,放线装置、前张力架、整直台、挤塑主机、挤塑辅机、移动水槽、印字机、双层固定水槽和牵引机从前到后依次排列;储线架位于双层固定水槽和牵引机的上方,连接牵引机和凹凸测控仪;凹凸测控仪、火花检测仪、后张力架、卧式成圈机、扎带机、前后输送装置从前到后依次排列,前后贴标机安装在前后输送装置的上方;包膜机和热缩机依序布设在前输送装置和后输送装置之间,且包膜机的出线端连接热缩机的进线端,包膜工业机器人位于包膜机和热缩机的一侧;码垛工业机器人位于后输送装置的后方,码垛工业机器人的两侧布设装袋架。本实用新型可解决生产过程中的工人劳动强度高,生产效率低,产品外观差等问题。


