授权公布号:CN215637700U
一种适用于高海拔的热泵系统
有效
申请
2021-06-01
申请公布
1970-01-01
授权
2022-01-25
预估到期
2031-06-01
| 申请号 | CN202121211031.3 |
| 申请日 | 2021-06-01 |
| 授权公布号 | CN215637700U |
| 授权公告日 | 2022-01-25 |
| 分类号 | F24F5/00;F24F11/89 |
| 分类 | 供热;炉灶;通风; |
| 申请人名称 | 北京华业阳光新能源有限公司 |
| 申请人地址 | 北京市昌平区马池口镇仁义路2号院3号205室 |
专利法律状态
2022-01-25
授权
状态信息
授权
摘要
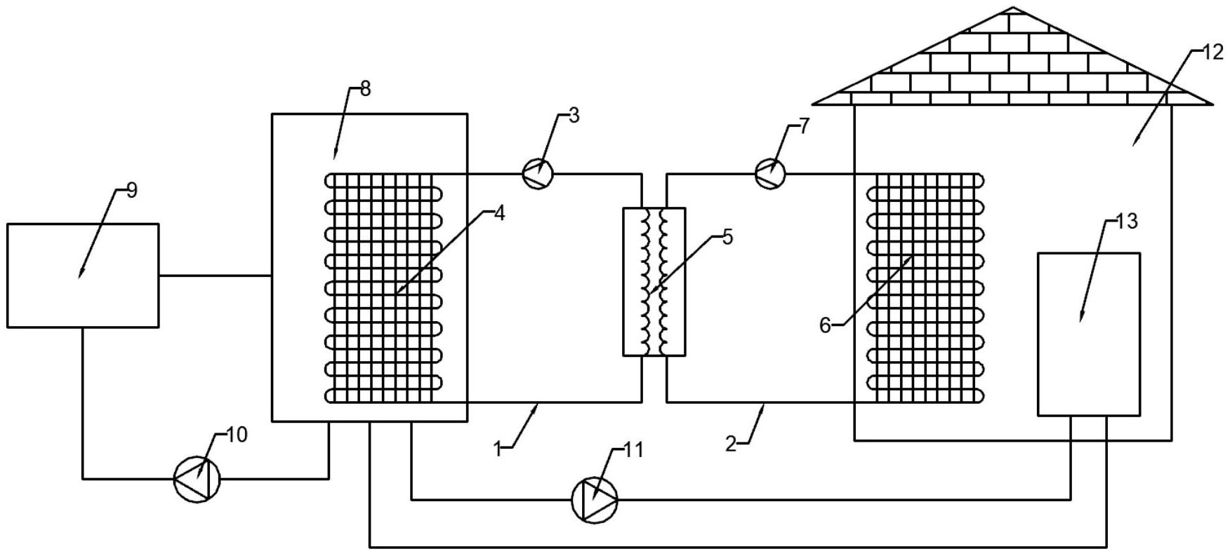
本实用新型提供了一种适用于高海拔的热泵系统,所述的热泵系统包括低温热泵单元、高温热泵单元和换热单元,所述的低温热泵单元位于室内,所述的高温热泵单元位于室外;所述的低温热泵单元包括制冷剂循环管路,所述的高温热泵单元包括换热剂循环管路;所述的制冷剂循环管路和换热剂循环管路分别独立地接入换热单元,所述的制冷剂循环管路上设置有第一压缩装置和第一蒸发装置,第一压缩装置将制冷剂送入换热单元与换热剂换热降温后进入第一蒸发装置;所述的换热剂循环管路上设置有第二压缩装置和第二蒸发装置,第二压缩装置将换热剂送入换热单元与制冷剂换热升温后进入第二蒸发装置。


