授权公布号:CN209507648U
热管潜热回收式太阳能海水淡化蒸馏器
有效
申请
2018-12-25
申请公布
1970-01-01
授权
2019-10-18
预估到期
2028-12-25
| 申请号 | CN201822197233.1 |
| 申请日 | 2018-12-25 |
| 授权公布号 | CN209507648U |
| 授权公告日 | 2019-10-18 |
| 分类号 | C02F1/14 |
| 分类 | 水、废水、污水或污泥的处理; |
| 申请人名称 | 北京华业阳光新能源有限公司 |
| 申请人地址 | 北京市海淀区成府路45号智造大街A座305 |
专利法律状态
2019-10-18
授权
状态信息
授权
摘要
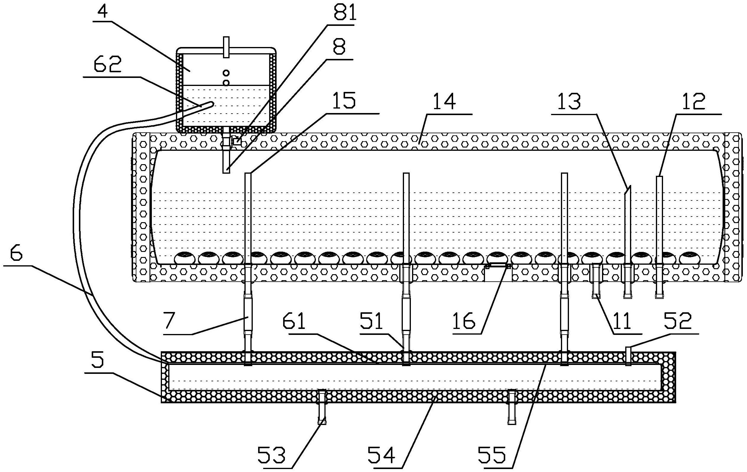
本实用新型提供一种热管潜热回收式太阳能海水淡化蒸馏器,包括容纳有海水的海水储水箱以及为所述海水储水箱提供热量的太阳能集热器;还包括:淡水收集箱,通过数个蒸汽连通管与所述海水储水箱的液面上方的空间相连通,所述淡水收集箱具有金属内胆;副水箱,所述副水箱通过能够控制启闭的排水管与所述海水储水箱相连通;柔性金属热管,其蒸发段与所述淡水收集箱的金属内胆紧密贴合,而冷凝段浸入所述副水箱的液面以下。本实用新型通过使用柔性金属热管收集蒸汽冷凝潜热,潜热热量收集快,极大提高系统效率。


