授权公布号:CN218936693U
一种采用太阳能加热的保温防火石油储罐
有效
申请
2022-10-31
申请公布
1970-01-01
授权
2023-04-28
预估到期
2032-10-31
| 申请号 | CN202222916442.3 |
| 申请日 | 2022-10-31 |
| 授权公布号 | CN218936693U |
| 授权公告日 | 2023-04-28 |
| 分类号 | F24S70/00;F24S80/60;F28D21/00 |
| 分类 | 供热;炉灶;通风; |
| 申请人名称 | 北京华业阳光新能源有限公司 |
| 申请人地址 | 北京市昌平区马池口镇仁义路2号院3号205室 |
专利法律状态
2023-04-28
授权
状态信息
授权
摘要
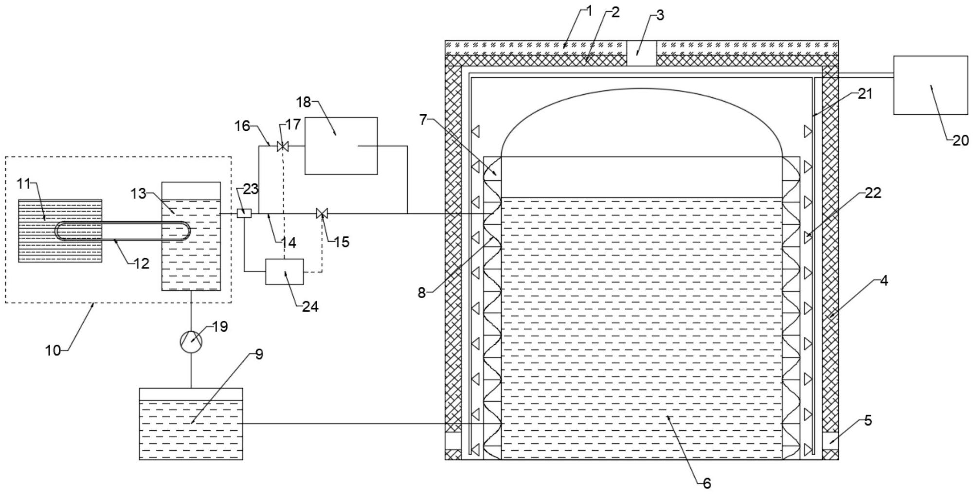
本实用新型提供了一种采用太阳能加热的保温防火石油储罐,所述保温防火石油储罐包括外壳和位于所述外壳内的罐体,所述罐体内储存有石油;所述外壳包括围绕所述罐体外周设置的墙体以及位于所述墙体顶部的顶棚,所述墙体与所述罐体外周之间具有空隙;所述顶棚包括吸热层和位于吸热层内表面的保温层,所述保温层与所述罐体顶部之间具有空隙;所述罐体外壁设置有夹层,所述夹层内设置有换热装置,所述换热装置循环连接太阳能加热装置。本实用新型提供的保温防火石油储罐采用直接加热和间接加热两种不同的方式对石油进行保温加热,解决了现有的石油储罐保温加热设备的结构复杂、能源耗费量大、受热不均和加热效果差等问题。


