授权公布号:CN216591806U
一种生物质燃料家用炊事采暖炉具
有效
申请
2021-10-28
申请公布
1970-01-01
授权
2022-05-24
预估到期
2031-10-28
| 申请号 | CN202122608359.5 |
| 申请日 | 2021-10-28 |
| 授权公布号 | CN216591806U |
| 授权公告日 | 2022-05-24 |
| 分类号 | F24B1/183;F24B1/191;F24D15/02;F23J15/06 |
| 分类 | 供热;炉灶;通风; |
| 申请人名称 | 北京华业阳光新能源有限公司 |
| 申请人地址 | 北京市昌平区马池口镇仁义路2号院3号205室 |
专利法律状态
2022-05-24
授权
状态信息
授权
摘要
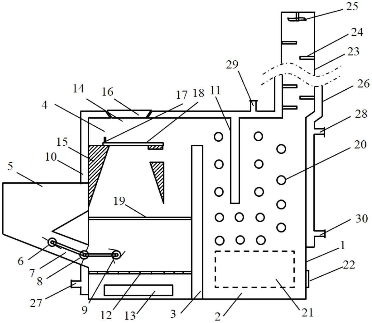
本实用新型提供了一种生物质燃料家用炊事采暖炉具,包括炉体以及在所述炉体内部垂直设置的炉膛隔板,所述炉膛隔板将所述炉体分为顶部连通的燃烧室和吸热室;所述燃烧室的外侧壁上设置有储料箱,所述储料箱与燃烧室对接处设置有进料通道,所述进料通道内设置有传动件连接的第一开合装置和第二开合装置,所述第一开合装置和第二开合装置处于不同的开关状态,保证所述储料箱和燃烧室处于隔绝状态;所述炉体的外侧设置有炉体水套,所述吸热室内设置有水套隔板,所述水套隔板与炉体水套连通。本实用新型优化了物料的进料方式,解决了添加物料对室内造成粉尘污染的问题;炉膛隔板和水套隔板增加烟道长度,使得烟气中的热量得以被更充分地吸收利用。


