授权公布号:CN209495387U
带有补热除霜控制回路的低环境温度空气源热泵热风机
有效
申请
2018-12-28
申请公布
1970-01-01
授权
2019-10-15
预估到期
2028-12-28
| 申请号 | CN201822233247.4 |
| 申请日 | 2018-12-28 |
| 授权公布号 | CN209495387U |
| 授权公告日 | 2019-10-15 |
| 分类号 | F24D5/12;F25B13/00;F25B30/06;F25B47/02 |
| 分类 | 供热;炉灶;通风; |
| 申请人名称 | 北京华业阳光新能源有限公司 |
| 申请人地址 | 北京市海淀区成府路45号智造大街A座305 |
专利法律状态
2019-10-15
授权
状态信息
授权
摘要
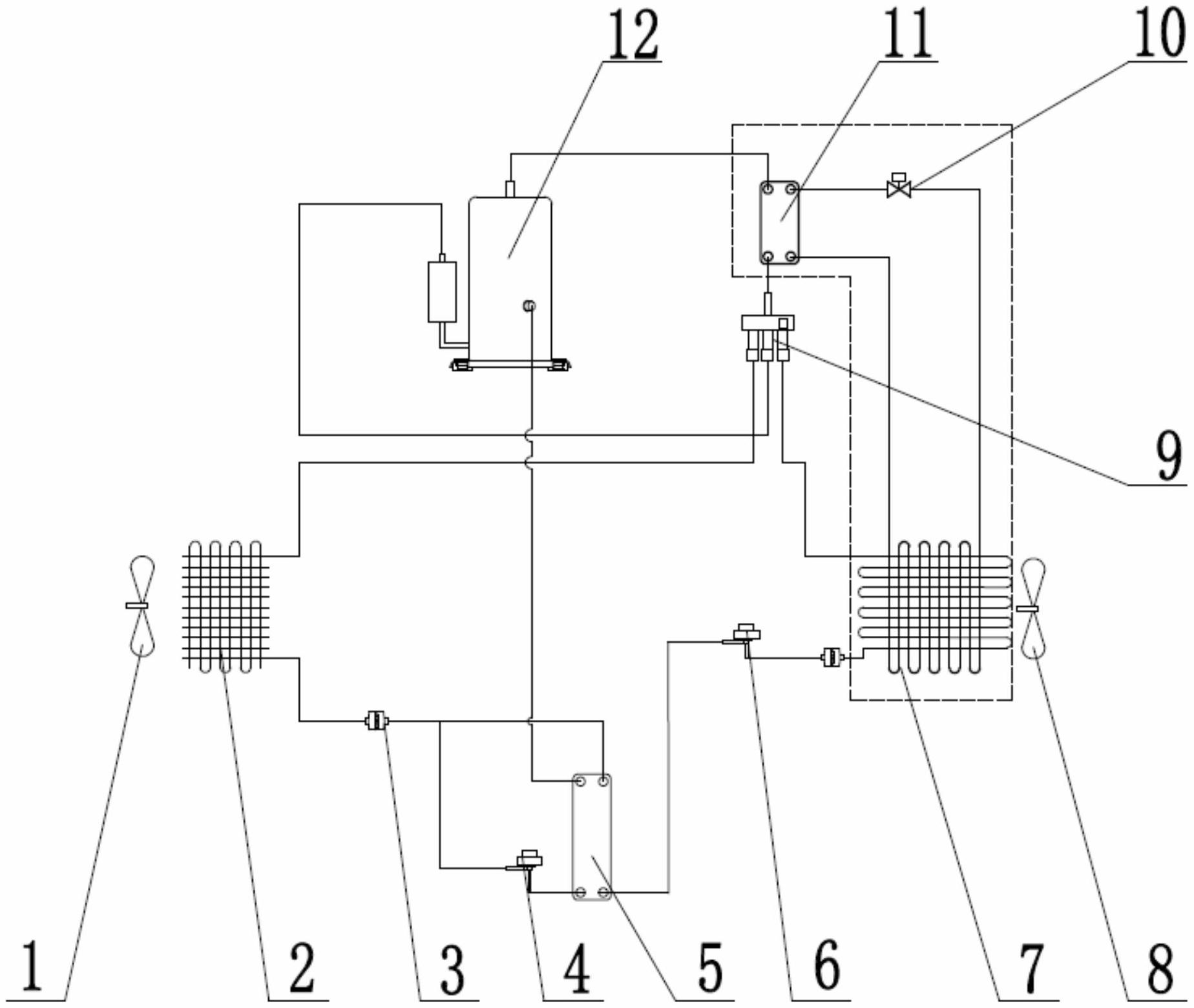
本实用新型提供一种带有补热除霜控制回路的低环境温度空气源热泵热风机,其中:所述空气源热泵热风机包括通过四通阀形成连接的压缩机、室内换热器、主路电子膨胀阀以及蒸发器;在所述蒸发器上增设有补热除霜管路,在压缩机与四通阀之间的管路上增设有集热换热器,所述补热除霜管路与所述集热换热器构成补热除霜回路,并在回路上设有变频电动阀。当空气源热泵正常工作时,所述集热换热器中的介质能够存储热量,而在室外温度过低时,所述变频电动阀开启,使集热换热器中存储的热量传递给补热除霜回路,补热除霜回路能够对蒸发器进行除霜。


