授权公布号:CN213470905U
一种多孔锌材料加工用夹具
有效
申请
2020-09-27
申请公布
1970-01-01
授权
2021-06-18
预估到期
2030-09-27
| 申请号 | CN202022155250.6 |
| 申请日 | 2020-09-27 |
| 授权公布号 | CN213470905U |
| 授权公告日 | 2021-06-18 |
| 分类号 | B25B11/00 |
| 分类 | 手动工具;轻便机动工具;手动器械的手柄;车间设备;机械手; |
| 申请人名称 | 北京华业阳光新能源有限公司 |
| 申请人地址 | 北京市昌平区马池口镇仁义路2号院3号205室 |
专利法律状态
2021-06-18
授权
状态信息
授权
摘要
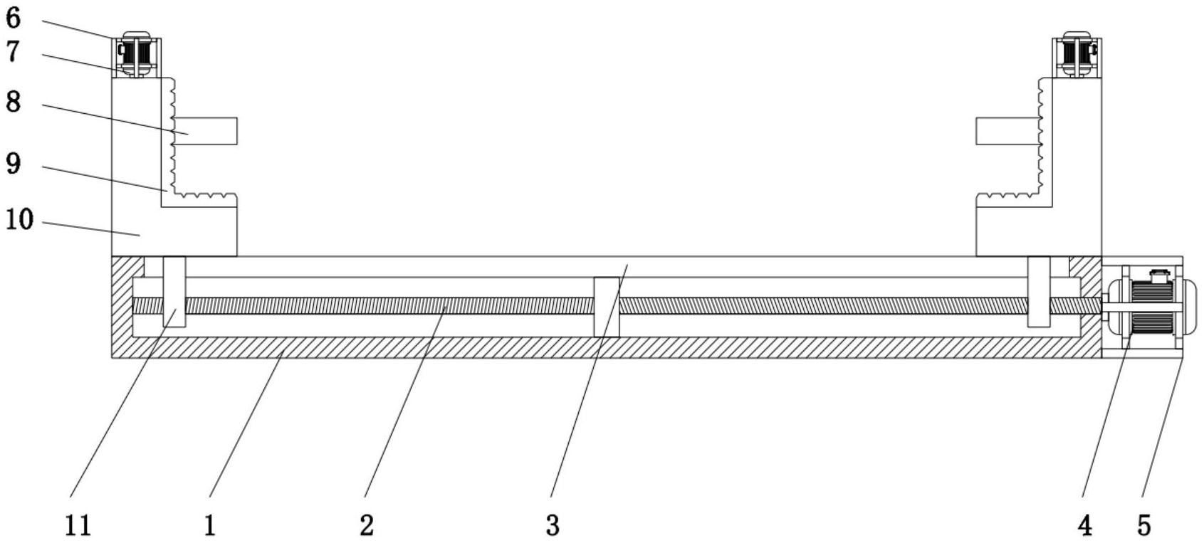
本实用新型公开了一种多孔锌材料加工用夹具,包括底部壳体,所述底部壳体的一侧关固定连接有第一机架,所述第一机架的内部固定连接有第一伺服电机,所述第一伺服电机的输出端贯穿所述底部壳体的侧壁固定连接有双向螺纹杆,所述双向螺纹杆的两侧均螺纹连接有第一连接块。本实用新型中,将待装夹的材料放置在L形夹块上,启动第一伺服电机带动双向螺纹杆转动,从而带动第一连接块上的L形夹块相向移动,进而将待装夹的物料夹紧,在启动第二伺服电机带动第二螺纹杆转动,从而带动第二连接块上的压板移动,压板向下移动,对待装夹的物料的上端起到一定的限位作用,设置在L形夹块上的防护垫板可以防止装夹物料时产生变形,且可以增大摩擦。


