授权公布号:CN213242604U
一种锌空电池
有效
申请
2020-09-21
申请公布
1970-01-01
授权
2021-05-18
预估到期
2030-09-21
| 申请号 | CN202022082002.3 |
| 申请日 | 2020-09-21 |
| 授权公布号 | CN213242604U |
| 授权公告日 | 2021-05-18 |
| 分类号 | H01M4/86;H01M12/06;H01M4/12;H01M4/04;H01M4/06;C25D3/22;C25D5/18;C25D7/00 |
| 分类 | 基本电气元件; |
| 申请人名称 | 北京华业阳光新能源有限公司 |
| 申请人地址 | 北京市昌平区马池口镇仁义路2号院3号205室 |
专利法律状态
2021-05-18
授权
状态信息
授权
摘要
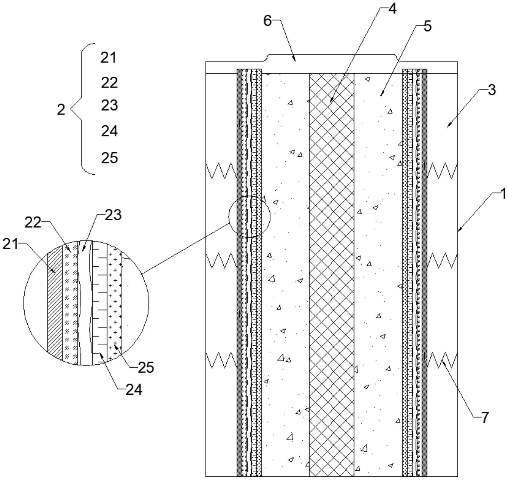
本实用新型提供了一种锌空电池,所述的锌空电池包括一端敞口的外壳,所述外壳侧壁开设有通孔,所述外壳近内壁处沿周向设置有空气阴极,所述空气阴极与外壳之间形成进气空腔,外界空气经通孔进入进气空腔;所述的空气阴极包括由外至内依次层叠设置的半透膜层、CO<sub>2</sub>吸附层、催化剂层、集流层和隔离层;所述外壳内部中心区域沿轴向插入金属阳极,所述的空气阴极和金属阳极之间形成的环形空腔内注入电解液。本实用新型提供的锌空电池通过设置五层结构的空气电极有效解决了电解液的泄漏问题。


