授权公布号:CN219103363U
一种采用清洁能源的供能储能系统装置
有效
申请
2022-11-25
申请公布
1970-01-01
授权
2023-05-30
预估到期
2032-11-25
| 申请号 | CN202223144520.9 |
| 申请日 | 2022-11-25 |
| 授权公布号 | CN219103363U |
| 授权公告日 | 2023-05-30 |
| 分类号 | F24S60/00;F24S80/00;F24S20/40 |
| 分类 | 供热;炉灶;通风; |
| 申请人名称 | 北京华业阳光新能源有限公司 |
| 申请人地址 | 北京市昌平区马池口镇仁义路2号院3号205室 |
专利法律状态
2023-05-30
授权
状态信息
授权
摘要
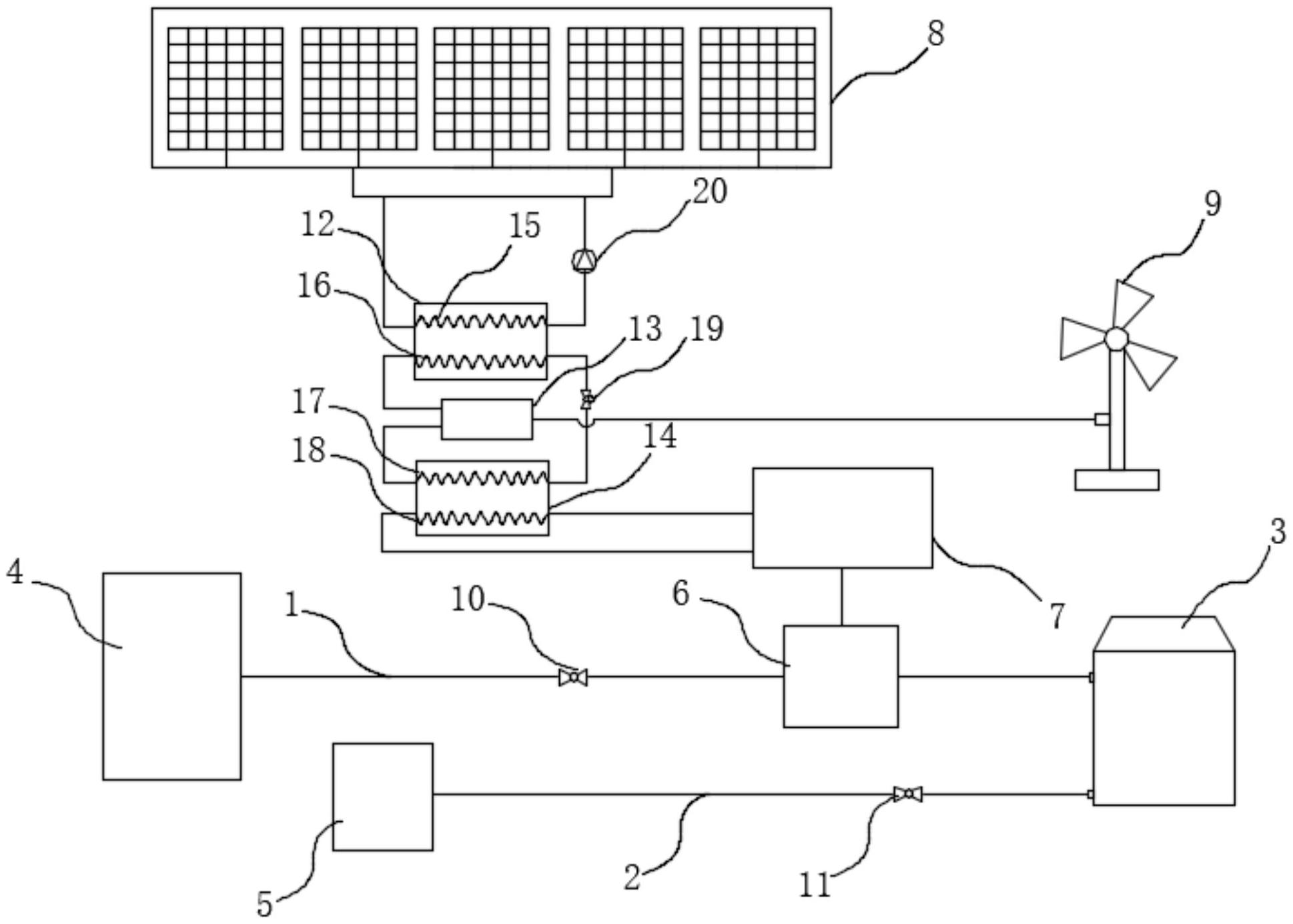
本实用新型提供了一种采用清洁能源的供能储能系统装置,包括沿能源供给方向依次连接的供能模块、热泵模块、储能模块和加热模块;所述供能储能系统装置还包括补水管网与保温水箱,补水管网包括第一补水管路和第二补水管路,加热模块设置于第一补水管路上,第一补水管路的入口端和出口端分别接入上游供水系统和保温水箱,保温水箱外接第二补水管路,第二补水管路的出口端接入下游用水系统;供能模块包括独立接入热泵模块的风能供能装置和太阳能供能装置,热泵模块用于将风能供能装置和太阳能供能装置产生的能量导入储能模块。本实用新型将太阳能与风能进行储存,用于下游用水系统中,降低能量消耗,实现节能减排。


