授权公布号:CN215638575U
一种空气源热泵的烟草烘干系统装置
有效
申请
2021-07-29
申请公布
1970-01-01
授权
2022-01-25
预估到期
2031-07-29
| 申请号 | CN202121743154.1 |
| 申请日 | 2021-07-29 |
| 授权公布号 | CN215638575U |
| 授权公告日 | 2022-01-25 |
| 分类号 | F26B11/18;F26B21/04;F26B21/08;F26B21/10;F26B25/02;F26B25/18;A24B3/04;F25B30/02 |
| 分类 | 干燥; |
| 申请人名称 | 北京华业阳光新能源有限公司 |
| 申请人地址 | 北京市昌平区马池口镇仁义路2号院3号205室 |
专利法律状态
2022-01-25
授权
状态信息
授权
摘要
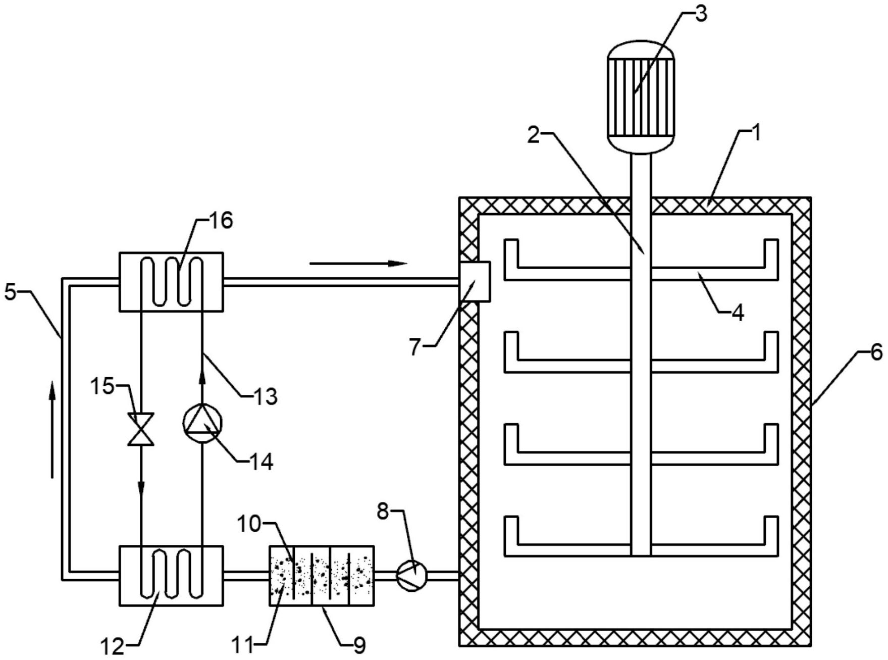
本实用新型提供了一种空气源热泵的烟草烘干系统装置,所述的烟草烘干系统装置包括烘干箱,所述的烘干箱外接空气循环管路,所述的空气循环管路上沿空气流向依次设置有蒸发器和换热器,所述的蒸发器和换热器之间通过介质循环管路循环连接;所述的烘干箱包括箱体,所述箱体内竖直设置有转轴,所述转轴的一端连接电机,所述转轴上固定有至少一个烘干托盘。本实用新型提供的烟草烘干系统装置通过空气源热泵实现了高温高压气体对烟草的烘干以及余热气体的回收利用,通过设置转轴带动烘干托盘旋转,有效解决了烟草受热不均匀,加热效果不稳定的缺陷。


