授权公布号:CN107167307B
热缩封帽透气性测试方法及专用测试设备
有效
申请
2017-06-07
申请公布
2017-09-15
授权
2024-01-30
预估到期
2037-06-07
| 申请号 | CN201710426227.6 |
| 申请日 | 2017-06-07 |
| 申请公布号 | CN107167307A |
| 申请公布日 | 2017-09-15 |
| 授权公布号 | CN107167307B |
| 授权公告日 | 2024-01-30 |
| 分类号 | G01M13/00;G01M3/04;G01M3/06;G01N15/08 |
| 分类 | 测量;测试; |
| 申请人名称 | 远东电缆有限公司 |
| 申请人地址 | 江苏省无锡市宜兴市高塍镇远东大道8号 |
专利法律状态
2024-01-30
授权
状态信息
授权
2017-10-17
实质审查的生效
状态信息
实质审查的生效;IPC(主分类):G01M13/00;申请日:20170607
2017-09-15
公布
状态信息
公布
摘要
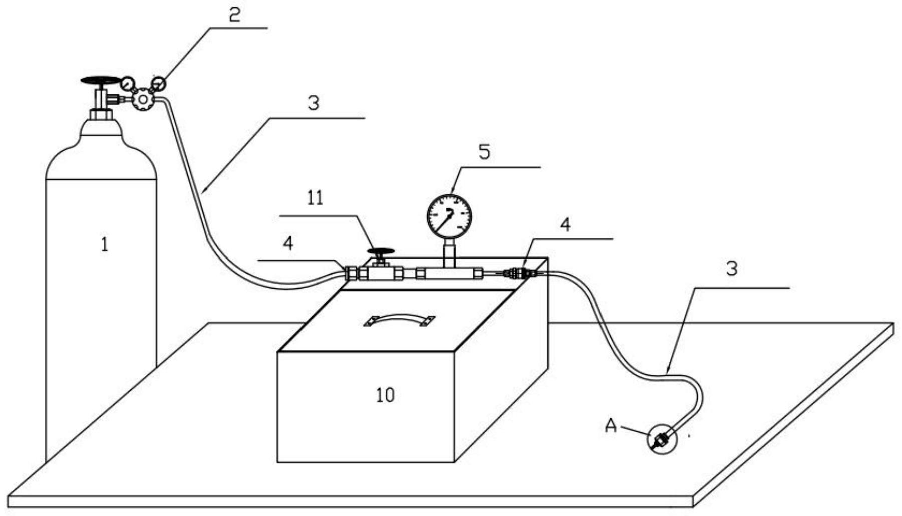
本发明公开了热缩封帽透气性测试方法及专用测试设备,先进行透水性测试,然后进行透气性测试;取下通透水性测试的热缩封帽试样的金属气嘴,套上密封圈,旋紧安装于连接头中,在金属气嘴上旋紧螺母;打开压缩空气罐的总阀和第一调压阀,微调第一调压阀,确保空气压力表的指针仍为零位;通过调节气体瓶上的第一调压阀使空气压力表的压力指针至0.01MPa,将装有金属气嘴的连接管插入水中,观察金属气嘴端口是否有气泡放出,如果没有再将压力调至0.02MPa,如果仍没有气泡放出则判定该封帽透气性不合格。本发明的方法不需要在测试过程中进行热封,也不需要准备很多种规格的金属管,可操作性强,测试效果好。


