授权公布号:CN212125826U
一种环保纸箱
有效
申请
2020-01-13
申请公布
1970-01-01
授权
2020-12-11
预估到期
2030-01-13
| 申请号 | CN202020064306.4 |
| 申请日 | 2020-01-13 |
| 授权公布号 | CN212125826U |
| 授权公告日 | 2020-12-11 |
| 分类号 | B65D5/42 |
| 分类 | 输送;包装;贮存;搬运薄的或细丝状材料; |
| 申请人名称 | 厦门合兴包装印刷股份有限公司 |
| 申请人地址 | 福建省厦门市同安区同集北路556号 |
专利法律状态
2020-12-11
授权
状态信息
授权
摘要
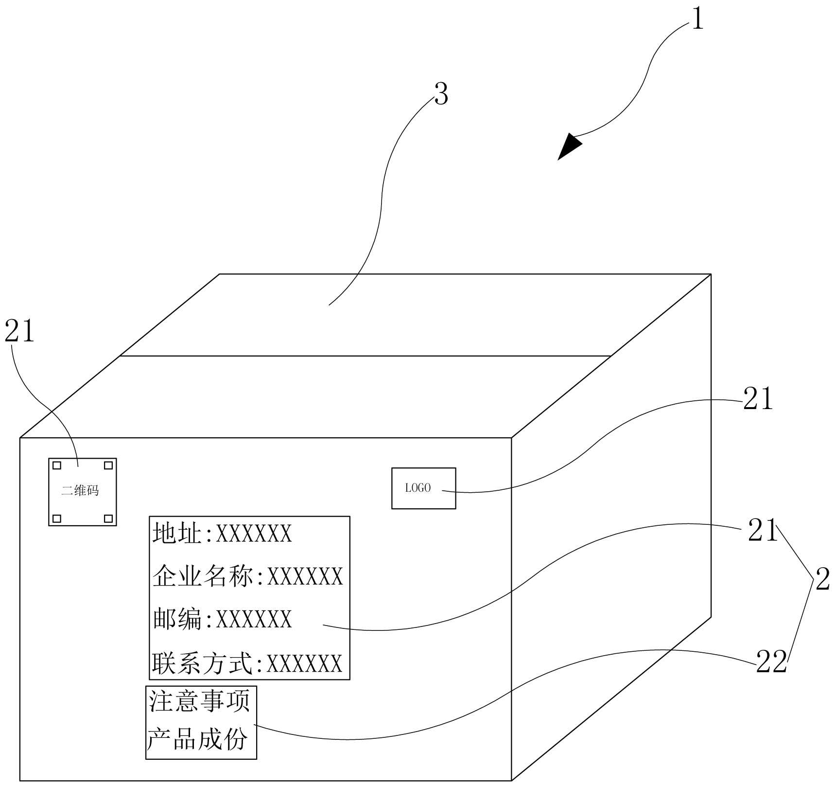
本实用新型公开了一种环保纸箱,包括箱体及箱体表面记载的信息区块,所述箱体由环保纸材制得,所述信息区块是在箱体外表面通过激光聚焦产生的高温对环保纸材进行蚀刻而成型,本实用新型的环保纸箱,除了本身的环保纸材外,没有增加任何材料,所有记载的信息不通过油墨印刷至箱体上,从而在纸箱制造过程中做到VOCs零排放,让本实用新型的环保纸箱在回收与处理时,不会出现二次污染的问题,也不需要解决油墨是否环保的问题。


