授权公布号:CN208842788U
一种具有缓冲结构的纸盒
有效
申请
2018-07-30
申请公布
1970-01-01
授权
2019-05-10
预估到期
2028-07-30
| 申请号 | CN201821216292.2 |
| 申请日 | 2018-07-30 |
| 授权公布号 | CN208842788U |
| 授权公告日 | 2019-05-10 |
| 分类号 | B65D5/42 |
| 分类 | 输送;包装;贮存;搬运薄的或细丝状材料; |
| 申请人名称 | 厦门合兴包装印刷股份有限公司 |
| 申请人地址 | 福建省厦门市同安区同集北路556号 |
专利法律状态
2019-05-10
授权
状态信息
授权
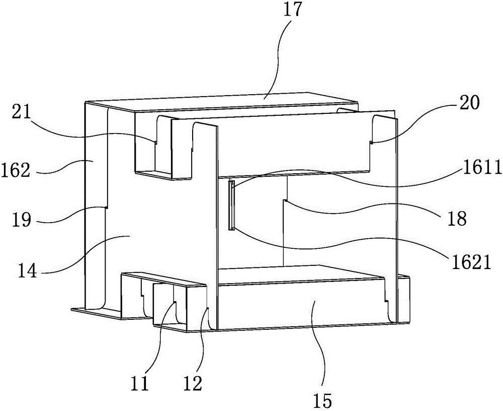
摘要
本实用新型公开了一种具有缓冲结构的纸盒,包括:两侧板及底板;两侧板的底边均间隔凹设至少两个第一主缺口,所述底板对应两侧板的底边的第一主缺口位置分别设置一第一从缺口;所述底板朝侧板弯折,所述第一从缺口分别依次卡入所对应的侧板的第一主缺口中位于两端的第一主缺口,所述底板的前端向后弯折并卡入所对应的侧板的第一主缺口中除与底板的前端邻近的端部的第一主缺口外的其他任一第一主缺口,本实用新型直接于纸盒的底部成型有缓冲结构,使得于包装产品时,无需于纸盒底部放置缓冲材料,当纸盒着地后,此缓冲结构会减缓地面对纸盒所装的产品的冲击和振动,因此,本实用新型具有环保、结构简单及便于组装的特点。


