授权公布号:CN111056741B
一种光纤预制棒尾柄的密封装置及密封方法
有效
申请
2020-01-08
申请公布
2020-04-24
授权
2024-01-16
预估到期
2040-01-08
| 申请号 | CN202010018643.4 |
| 申请日 | 2020-01-08 |
| 申请公布号 | CN111056741A |
| 申请公布日 | 2020-04-24 |
| 授权公布号 | CN111056741B |
| 授权公告日 | 2024-01-16 |
| 分类号 | C03B37/025;C03B37/03 |
| 分类 | 玻璃;矿棉或渣棉; |
| 申请人名称 | 通鼎互联信息股份有限公司 |
| 申请人地址 | 江苏省苏州市吴江区震泽镇八都小平大道8号 |
专利法律状态
2024-01-16
授权
状态信息
授权
2020-05-19
实质审查的生效
状态信息
实质审查的生效;IPC(主分类):C03B37/025;申请日:20200108
2020-04-24
公布
状态信息
公布
摘要
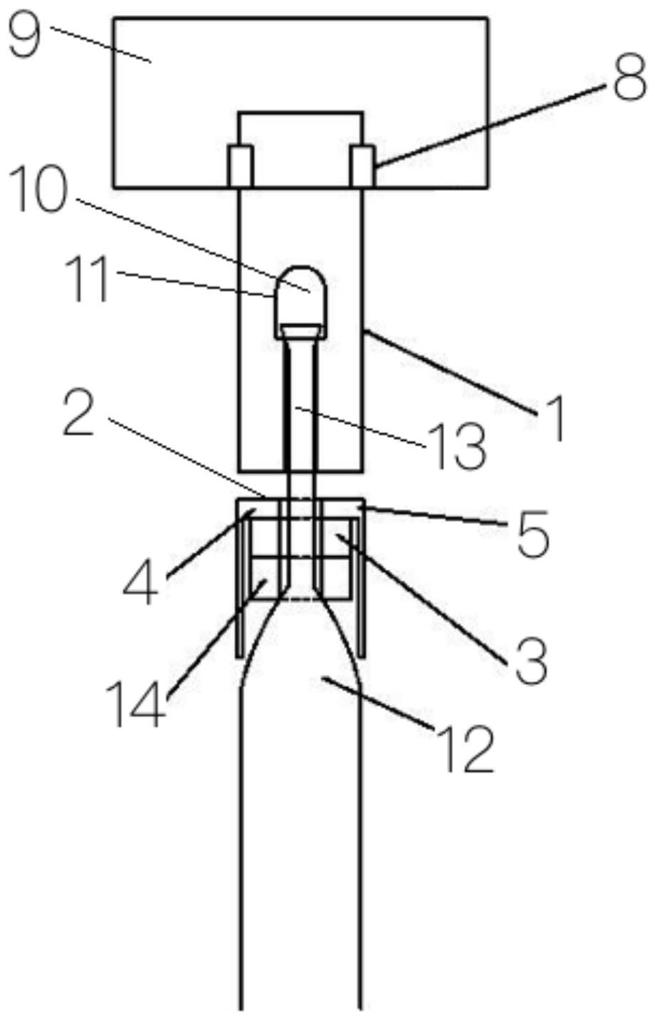
本发明创造提供了一种光纤预制棒尾柄的密封装置,包括固定在挂棒平台上的石英尾管,所述石英尾管下端固定预制棒的尾柄部分,在预制棒尾柄的变径区套装有用于实现密封的石英组合件。本发明创造所提供的光纤预制棒尾柄密封装置有效减少了预制棒预处理工序,无需对原始尾柄进行切除后对接尾管进行挂棒拉丝,降低了生产成本。同时,通过合理的结构设计,来避免预制棒尾部较大的变径区带来的生产隐患。


