授权公布号:CN114171258B
一种紫外光交联水槽
有效
申请
2022-01-24
申请公布
2022-03-11
授权
2023-10-24
预估到期
2042-01-24
| 申请号 | CN202210077563.5 |
| 申请日 | 2022-01-24 |
| 申请公布号 | CN114171258A |
| 申请公布日 | 2022-03-11 |
| 授权公布号 | CN114171258B |
| 授权公告日 | 2023-10-24 |
| 分类号 | H01B13/00;H01B13/06 |
| 分类 | 基本电气元件; |
| 申请人名称 | 通鼎互联信息股份有限公司 |
| 申请人地址 | 江苏省苏州市吴江区震泽镇八都经济开发区小平大道8号 |
专利法律状态
2023-10-24
授权
状态信息
授权
2022-03-11
公布
状态信息
公布
摘要
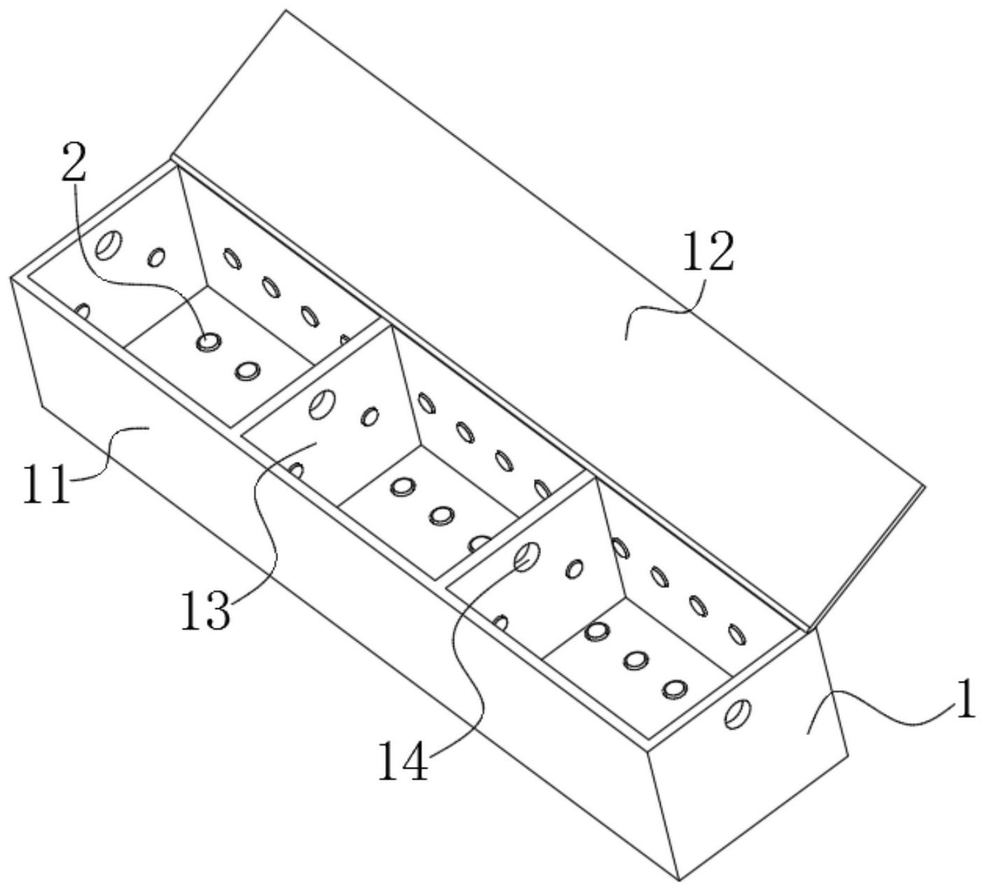
本发明涉及电线电缆技术领域,且公开了一种紫外光交联水槽,包括交联槽,所述交联槽的内壁上设置有紫外光光源,所述交联槽的左右两侧均固定安装有回流管,所述回流管位于交联槽内部一端设置有阀门,所述交联槽的内壁固定安装有聚流部件,所述交联槽包括有水槽,所述水槽的顶部开口一侧转动连接有盖板。通过待加工的线芯依次穿过水槽两侧和分隔板开设的通孔,从水槽内的液体的液面处滑动,再通过紫外光辐照LED灯发出的紫外光,并配合与水槽向配套的设备,对线芯表面进行交联聚乙烯材料,再通过盖板转动,将水槽顶部的开口封闭,配合水槽的侧面对光线进行遮挡,减少外界光线进入水槽内,从而达到增加水槽的紫外光交联强度的目的。


