授权公布号:CN211766965U
一种罐状产品包装的内衬结构
有效
申请
2019-12-19
申请公布
1970-01-01
授权
2020-10-27
预估到期
2029-12-19
| 申请号 | CN201922301732.5 |
| 申请日 | 2019-12-19 |
| 授权公布号 | CN211766965U |
| 授权公告日 | 2020-10-27 |
| 分类号 | B65D5/50 |
| 分类 | 输送;包装;贮存;搬运薄的或细丝状材料; |
| 申请人名称 | 厦门合兴包装印刷股份有限公司 |
| 申请人地址 | 福建省厦门市同安区同集北路556号 |
专利法律状态
2020-10-27
授权
状态信息
授权
摘要
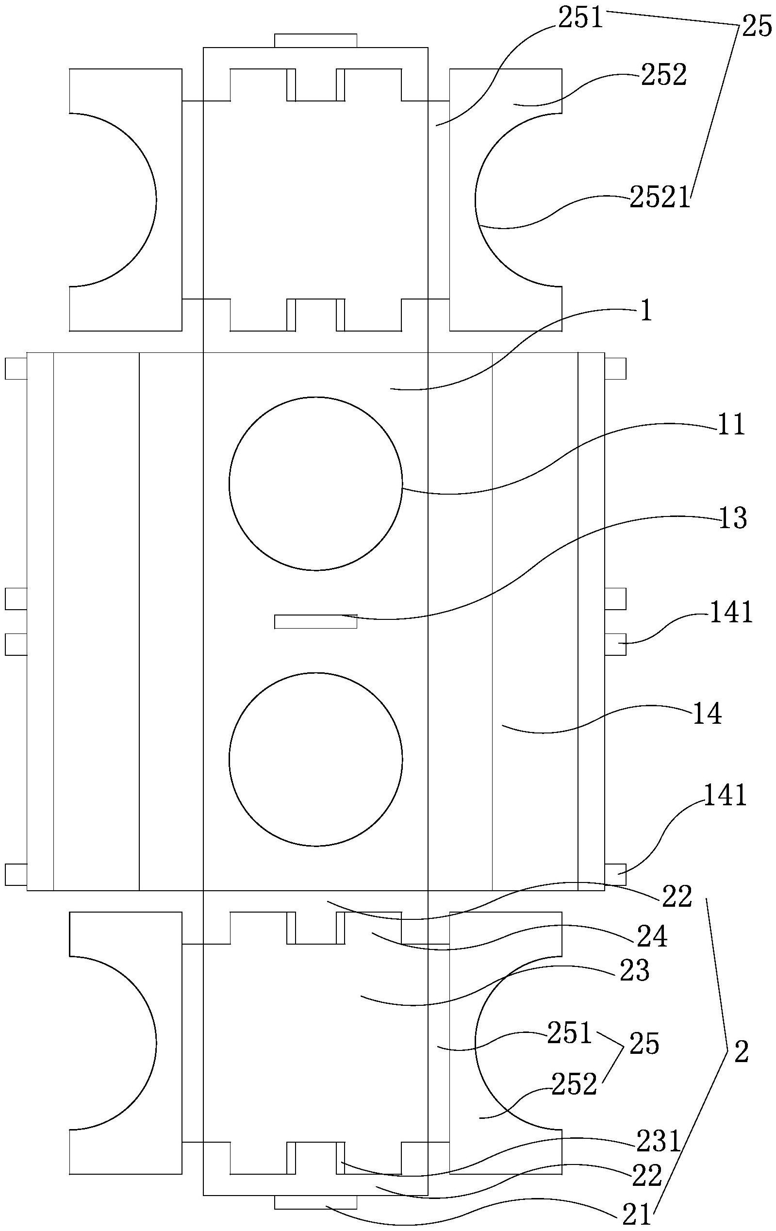
本实用新型公开了一种罐状产品包装的内衬结构,包括:一顶板及至少一支撑盖,所述顶板上设有至少一恰可供罐状产品放入的限位孔,所述支撑盖与顶板之间形成容腔,所述支撑盖的一边与顶板可弯折连接,平行于支撑盖与顶板的连接边的支撑盖边凸设有至少一卡入件,所述顶板对应卡入件的位置设有恰可供卡入件卡入的卡孔,于包装人员使用本实用新型时,可以将罐状产品放入顶板的限位孔中,进入所述支撑盖与顶板所形成的容腔中,实现本实用新型对罐状产品的限位固定,不让罐状产品晃动,以防止本实用新型及罐状产品放入纸箱包装后罐状产品发生碰撞造成损坏,且本实用新型整体包装便利、结构简单。


