授权公布号:CN212362957U
一种带扰流板的换热器
有效
申请
2019-12-30
申请公布
1970-01-01
授权
2021-01-15
预估到期
2029-12-30
| 申请号 | CN201922436312.8 |
| 申请日 | 2019-12-30 |
| 授权公布号 | CN212362957U |
| 授权公告日 | 2021-01-15 |
| 分类号 | F28F9/24 |
| 分类 | 一般热交换; |
| 申请人名称 | 广东米特拉电器科技有限公司 |
| 申请人地址 | 广东省河源市龙川县登云镇深圳南山(龙川)产业转移工业园12-3号 |
专利法律状态
2021-01-15
授权
状态信息
授权
摘要
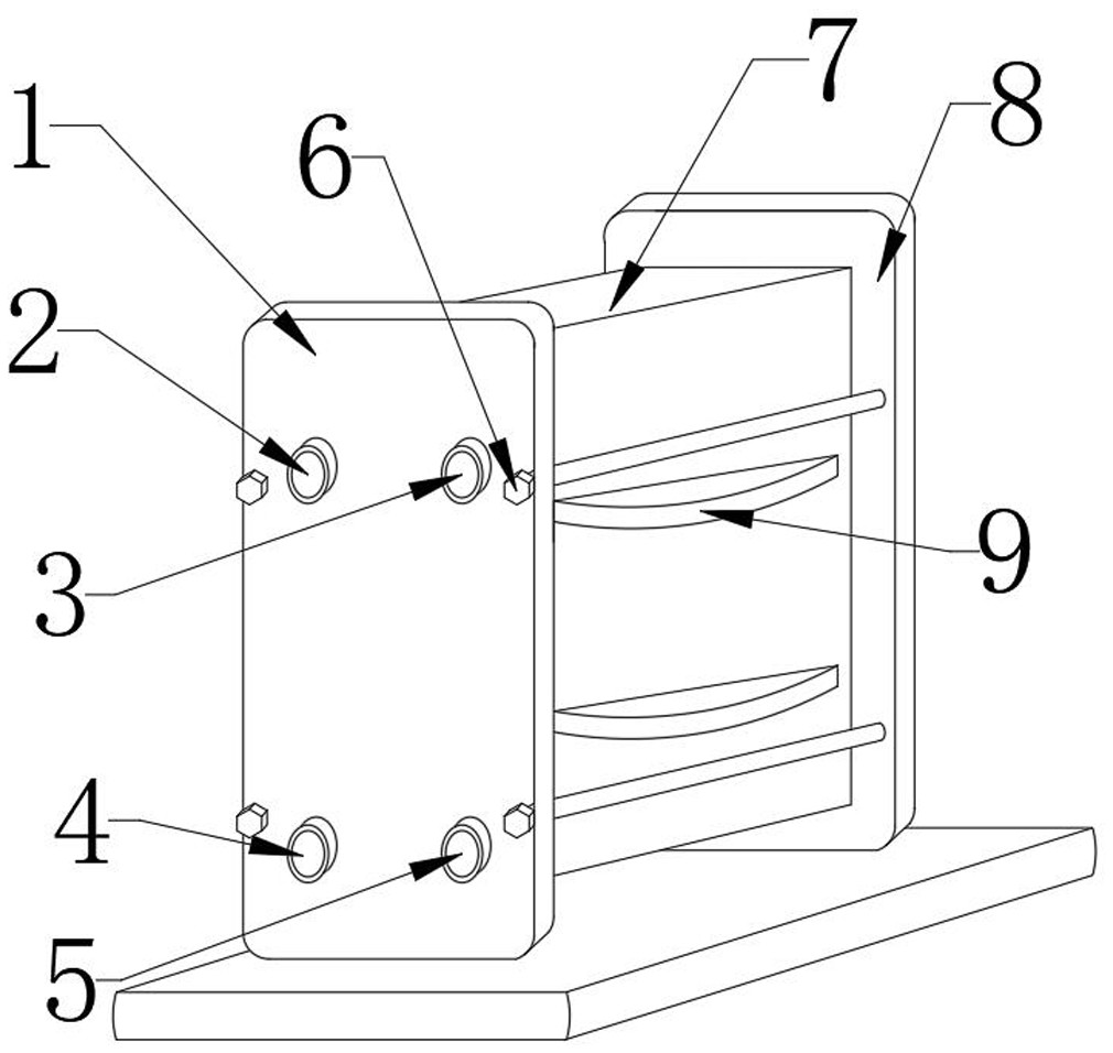
本实用新型公开了一种带扰流板的换热器,一种带扰流板的换热器,包括前端板,前端板的正面开设有气源进口、热水出口、气源出口和水源进口,前端板的正面转动连接有螺栓,前端板的内侧固定连接有密封垫,密封垫的侧面固定连接有箱体、箱体的内壁卡接有硅胶垫和钢板以及橡胶底垫,箱体的侧面卡接有扰流板,前端板的背面通过箱体固定连接有后端板,前端板和后端板的底部固定连接有底座板,该种换热器工作人员只需通过四个螺栓转动旋出,即可将换热器整体拆分,本实用新型通过设置的密封垫、前端板、螺栓、箱体、硅胶垫和钢板以及橡胶底垫,解决了零件不便于拆卸、零件使用率不高、寿命短、且不节约成本和气密性较差,导致换热效率低的问题。


