授权公布号:CN210565536U
一种易拆装式弹簧自锁紧固装置
有效
申请
2019-07-29
申请公布
1970-01-01
授权
2020-05-19
预估到期
2029-07-29
| 申请号 | CN201921205054.6 |
| 申请日 | 2019-07-29 |
| 授权公布号 | CN210565536U |
| 授权公告日 | 2020-05-19 |
| 分类号 | F16B5/06 |
| 分类 | 工程元件或部件;为产生和保持机器或设备的有效运行的一般措施;一般绝热; |
| 申请人名称 | 广东米特拉电器科技有限公司 |
| 申请人地址 | 广东省河源市龙川县登云镇深圳南山(龙川)产业转移工业园12-3号 |
专利法律状态
2020-05-19
授权
状态信息
授权
摘要
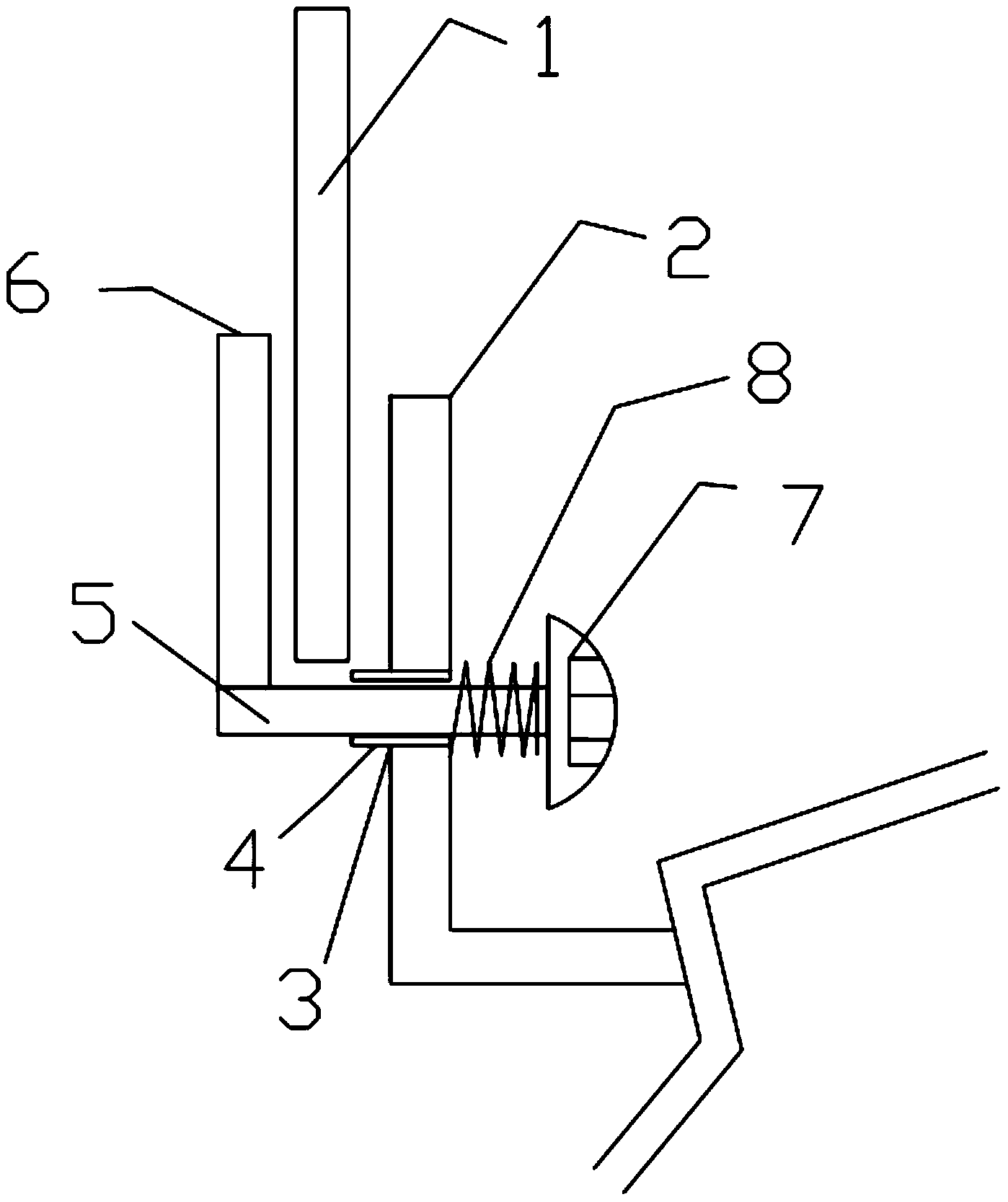
本实用新型涉及热泵技术领域,具体涉及一种易拆装式弹簧自锁紧固装置,包括包括平行设置的第一固定板和第二固定板,第二固定板上设有通孔,通孔上安装有限位圆筒,还包括连杆,连杆插入到限位圆筒内,且连杆的一端连接有垂直向上延伸的连接锁片,第一固定板位于连接锁片的后侧且能够限制连接锁片向前的移动。


