授权公布号:CN211926127U
一种节能控制的家用热水器
有效
申请
2019-12-30
申请公布
1970-01-01
授权
2020-11-13
预估到期
2029-12-30
| 申请号 | CN201922436327.4 |
| 申请日 | 2019-12-30 |
| 授权公布号 | CN211926127U |
| 授权公告日 | 2020-11-13 |
| 分类号 | F24H1/20 |
| 分类 | 供热;炉灶;通风; |
| 申请人名称 | 广东米特拉电器科技有限公司 |
| 申请人地址 | 广东省河源市龙川县登云镇深圳南山(龙川)产业转移工业园12-3号 |
专利法律状态
2020-11-13
授权
状态信息
授权
摘要
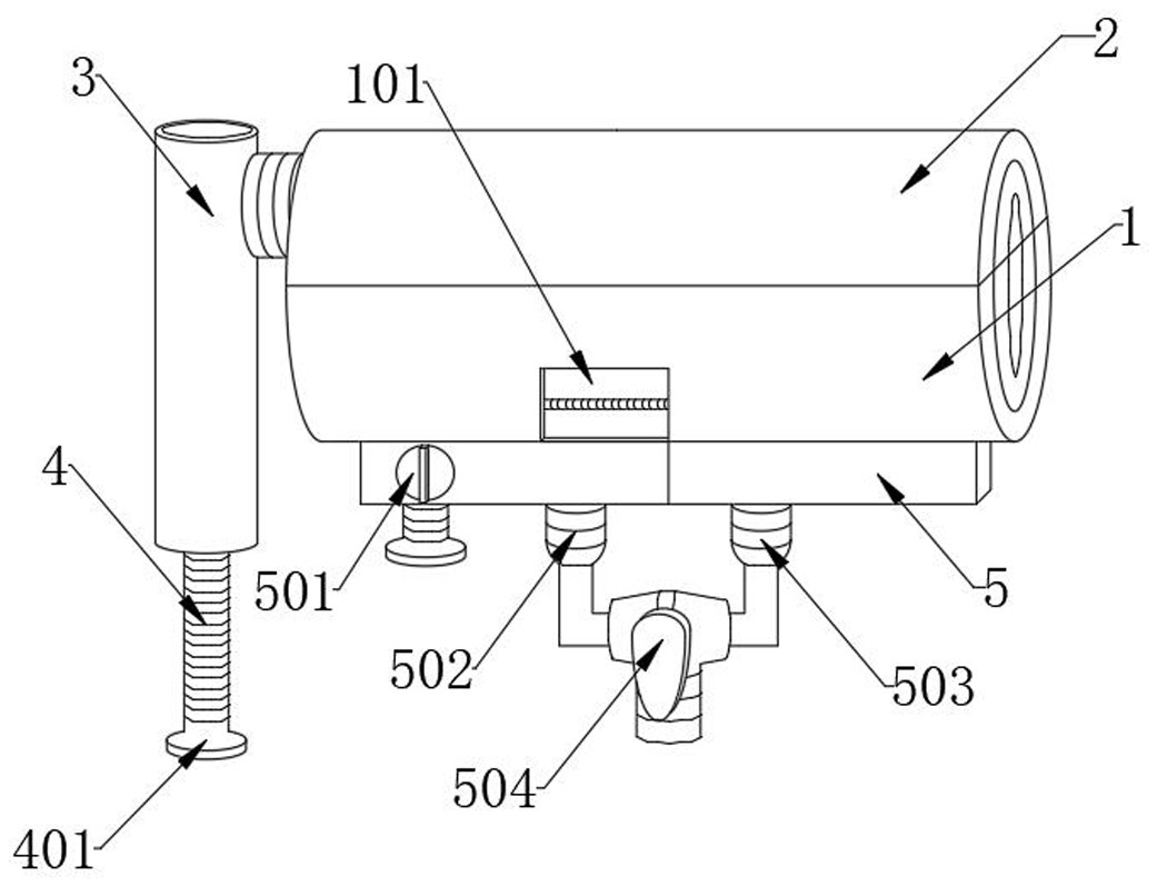
本实用新型公开了一种节能控制的家用热水器,包括第一外壳,第一外壳正面安装有框架,第一外壳底部固定连接有连接板,连接板的正面安装有控制开关,连接板底部分别螺纹连接有热水管与冷水管,热水管与冷水管交接处螺纹连接有控制阀门,连接板的顶部开设有通孔,第一外壳的内部安装有热水储存体,热水储存体的侧面固定连接有发热器,发热器的输出端电性连接有发热管,热水储存体的底部固定连接有通管,热水储存体的顶部卡接有盖板,第一外壳的顶部卡接连接有第二外壳,第二外壳的内部安装有冷水储存体,本实用新型通过设置的第一外壳与第二外壳,达到了使用时避免了水资源的浪费,提高了经济效益,且便于拆装,清洗加热器内部时更加简单方便。


