授权公布号:CN212058215U
涂塑升降上料烘干炕
有效
申请
2020-04-24
申请公布
1970-01-01
授权
2020-12-01
预估到期
2030-04-24
| 申请号 | CN202020631359.X |
| 申请日 | 2020-04-24 |
| 授权公布号 | CN212058215U |
| 授权公告日 | 2020-12-01 |
| 分类号 | F26B25/00 |
| 分类 | 干燥; |
| 申请人名称 | 天津友发钢管集团股份有限公司 |
| 申请人地址 | 天津市静海区大邱庄镇百亿元工业区 |
专利法律状态
2020-12-01
授权
状态信息
授权
摘要
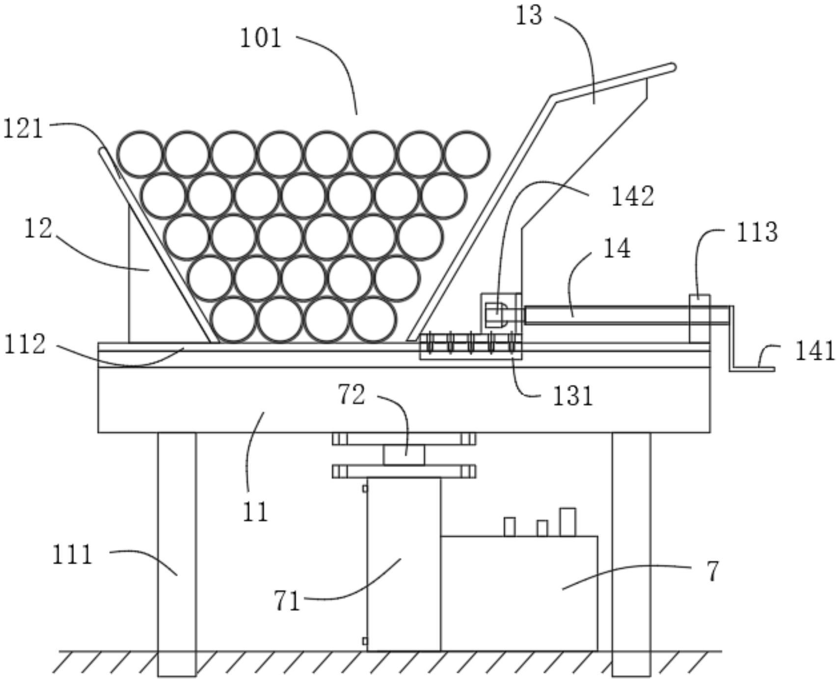
本实用新型属于管件加工技术领域,具体涉及涂塑升降上料烘干炕,包括上料装置、过渡台、烘干区、烘干炉、管件传输装置和下料装置,烘干区的输入/输出侧设有过渡台,位于烘干区的输入侧的过渡台处设有上料装置,烘干炉位于烘干区的下方,位于烘干区输出侧的过渡台处设有下料装置;本实用新型在支撑台的底部设置了液压驱动装置,可以控制支撑台的升降,当上料时,可以控制支撑台位于低位置,进行上料,可以降低劳动强度,当上料完成后,可以通过液压装置驱动其到达高位置进行输送,另外爬升架设置成可以移动的,进而改变存料槽的大小,将滞留在底部的管件输送到过渡台上,达到好的上料效果。


