授权公布号:CN212585549U
一种空气能热泵的换热装置
有效
申请
2019-12-30
申请公布
1970-01-01
授权
2021-02-23
预估到期
2029-12-30
| 申请号 | CN201922440281.3 |
| 申请日 | 2019-12-30 |
| 授权公布号 | CN212585549U |
| 授权公告日 | 2021-02-23 |
| 分类号 | F28D9/00; |
| 分类 | 一般热交换; |
| 申请人名称 | 广东米特拉电器科技有限公司 |
| 申请人地址 | 广东省河源市龙川县登云镇深圳南山(龙川)产业转移工业园12-3号 |
专利法律状态
2021-02-23
授权
状态信息
授权
摘要
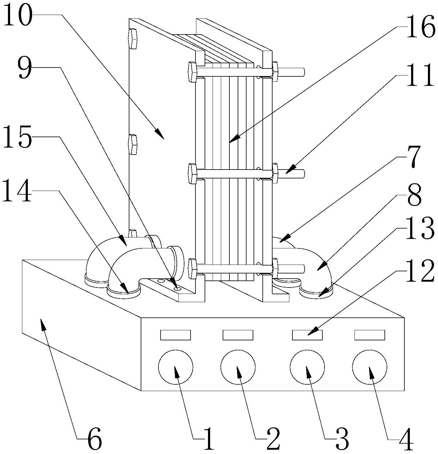
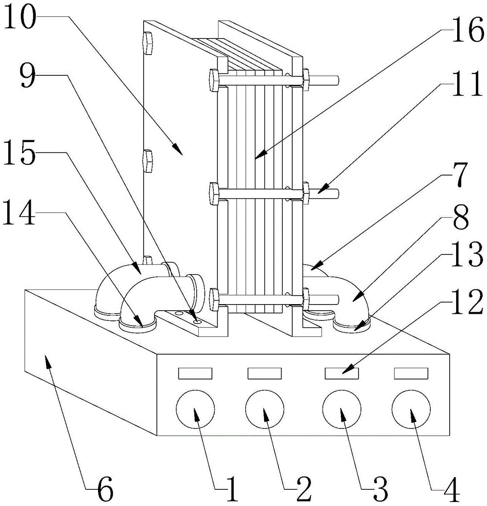
本实用新型公开了一种空气能热泵的换热装置,包括底座,底座的正面分别贯穿有热空气入口阀、热空气出口阀,热空气出口阀、冷空气入口阀和冷空气出口阀,底座的正面嵌入有显示器,底座的一侧嵌入有电源开关,底座的顶部正中位置固定连接有换热夹板,换热夹板的顶部嵌入有固定螺丝,换热夹板的内侧固定连接有换热板片,换热板片的内部固定连接有波纹翅片,换热板片的外表面固定连接有隔板,底座通过法兰固定连接有热空气入口管、冷空气出口管、热空气出口管和冷空气入口管,本实用新型通过设置的波纹翅片、换热板片和紧固螺栓,防止换热板片因震动和气压产生裂缝,从而提高了换热装置的使用寿命,从而提高了换热装置的换热效率。


