授权公布号:CN220515055U
用于管料拉拔的游动芯头
有效
申请
2023-04-12
申请公布
1970-01-01
授权
2024-02-23
预估到期
2033-04-12
| 申请号 | CN202320850668.X |
| 申请日 | 2023-04-12 |
| 授权公布号 | CN220515055U |
| 授权公告日 | 2024-02-23 |
| 分类号 | B21C3/16;B21C1/24 |
| 分类 | 基本上无切削的金属机械加工;金属冲压; |
| 申请人名称 | 浙江海亮股份有限公司 |
| 申请人地址 | 浙江省绍兴市诸暨市店口镇中央路198号 |
专利法律状态
2024-02-23
授权
状态信息
授权
摘要
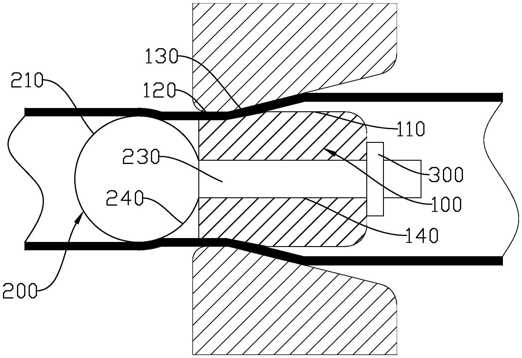
本实用新型公开了用于管料拉拔的游动芯头,属于管料加工设备领域,能够降低管料的残余应力,本实用新型的用于管料拉拔的游动芯头,所述游动芯头在管料拉拔时位于管料内,所述游动芯头包括芯头本体和可拆安装在所述芯头本体上的副芯头,所述芯头本体包括导向段、定径段和连接在二者之间的第一过渡段,所述副芯头包括位于所述定径段侧部的扩径段,所述扩径段的最大尺寸为D1,所述导向段和所述定径段为柱状结构,所述导向段的尺寸为D2,所述定径段的尺寸为D3,所述D1大于所述D3小于所述D2,以使管料在拉拔过程中先缩径后扩径。


