授权公布号:CN219169259U
张紧力可调的主动放线机
有效
申请
2022-12-26
申请公布
1970-01-01
授权
2023-06-13
预估到期
2032-12-26
| 申请号 | CN202223606748.5 |
| 申请日 | 2022-12-26 |
| 授权公布号 | CN219169259U |
| 授权公告日 | 2023-06-13 |
| 分类号 | B21C47/30;B21C47/16 |
| 分类 | 基本上无切削的金属机械加工;金属冲压; |
| 申请人名称 | 浙江海亮股份有限公司 |
| 申请人地址 | 浙江省绍兴市诸暨市店口镇中央路198号 |
专利法律状态
2023-06-13
授权
状态信息
授权
摘要
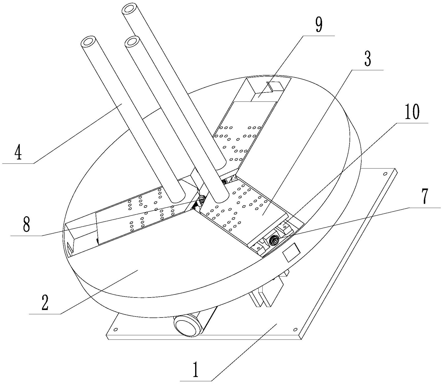
为了解决现有技术中管件拉伸过程中容易松散的问题,本实用新型提供了张紧力可调的主动放线机,其解决技术问题的技术方案包括底座,所述底座的上方安装有能够翻转的放线部件,所述放线部件包括支撑盘、滑块、线杆、调节组件,所述滑块的数量为3个且圆周均布地滑动连接在所述支撑盘上,每个所述滑块上固定有一个线杆,所述调节组件安装在所述支撑盘上,所述调节组件能够使多个滑块沿支撑盘的径向方向同步往复滑动。本实用新型能够通过翻转实现线盘的接收以及放线状态的切换,通过可同步调节的滑块,能够对线盘的松紧程度进行调节,提高管件的拉伸效率。


